Motorsport UK NCR 2026 #11 | Page 306
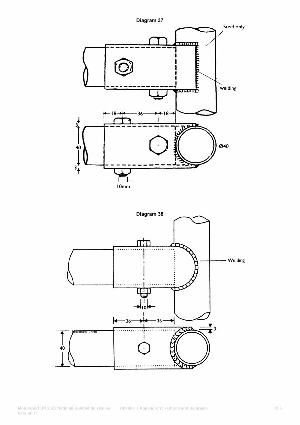
Diagram 37
Diagram 38
Maximum 25cm
Motorsport UK 2025 National Competition Rules Version 11
Chapter 7 Appendix 13- Charts and Diagrams 306
Motorsport UK NCR 2026 #11 | Page 305
Motorsport UK NCR 2026 #11 | Page 307
Article Title
Contents
Chair ’s Message
Representing:
On Track and Trackday Insurance Personal Accident & Travel Storage & Transit
On Track and Trackday Insurance Personal Accident & Travel Storage & Transit
Call our UK team on 0344 381 7539
WWW.GROVE-DEAN-INSURANCE-BROKERS.CO.UK
Truck Racing
Upgrading Criteria – Circuit Racing ( Appendix 5 )
Karting Licence Grade Structure
Upgrading Criteria – Karting ( Appendix 6 )
Upgrading Criteria – Stage Rallying ( Appendix 7 )
RS Licence Grade Structure
Upgrading Criteria – RS ( Appendix 8 )
Whatever the Discipline ....
www.CARTEKMOTORSPORT.com
MOTORSPORT
DESIGNED FOR YOUR SAFETY
01978 664466
On Track and Trackday Insurance Personal Accident & Travel Storage & Transit
LISTA STORAGE SOLUTIONS FOR MOTORSPORT
SUPPORTING YOU WITH ALL YOUR MOTORSPORT NEEDS
LISTA STORAGE SOLUTIONS FOR MOTORSPORT