Motorsport UK NCR 2026 #11 | DESIGNED FOR YOUR SAFETY

17 Wainwright Close Churchfields Industrial Estate St Leonards-on-sea East Sussex TN38 9PP

OVER 60 YEARS OF KEEPING DRIVERS SAFE

DO NOT UNDERVALUE THE COST OF LIFE

‘Corbeau has always been my Seat of choice’

‘Corbeau Sprint in Vinyl works well for us’

‘Corbeau Seats Everytime’

James Deane - 4 Time Formula Drift Champion

Ash Sutton - 4 Time BTCC Champion

Jim Burst - Gigglepin Extreme Off Road Champion

DESIGNED FOR YOUR SAFETY

Make sure your equipment is in date for the 2025 season Especially if you are racing abroad

corbeau-seats.com sales@corbeau-seats.com +44(0)1424 854499

bar of the Vehicle , one either side of the Driver and two to the rear of the Driver ’s seat.

8. Five point

8.1. Two shoulder straps, one lap strap and one strap between the legs with five anchorage points on the Chassis /body shell or roll over bar of the Vehicle , one either side of the Driver , two to the rear of the Driver ’s seat and one between the legs.

9. Six Point

9.1. Two shoulder straps, one lap strap and two straps between the legs, with six anchorage points on the Chassis /body shell or roll over bar of the Vehicle , one either side of the Driver , two to the rear of the Driver ’s seat and two between the legs.

10. Where safety harnesses are mandatory it is recommended that 4 or 5 or 6 point harnesses are used and are Homologated by the FIA and carry their label.

10.1. It is permitted to make a hole in series production seats to allow secure anchoring of seat belts. 10.2. International Events 10.3. All harnesses must be homologated by the FIA and carry their label.

10.4. For National Events where Specific Regulations require an FIA Homologated harness, harnesses Homologated by the FIA according to FIA standard 8853-2016 may be used for up to five years after the year stated on the label.

10.5. Harnesses Homologated by the FIA according to FIA standards 8853/98 and 8854/98 may be used until 31st December of the year stated on the label.

10.6. Harnesses Homologated by the FIA will display the FIA Homologation Label on the left shoulder strap.

10.7. It is not permitted to mix parts of seat belts. Only complete sets as supplied by manufacturers are to be used.

10.8. Only one release mechanism is permitted on each seat belt configuration and this must be available for the wearer to operate whilst seated in the competing position.

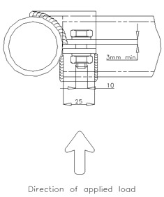
10.9. The anchorage points to the rear should be positioned so that the strap from the shoulder is as near horizontal as possible. It should not be located on the floor directly behind the Driver / Co-Driver .

10.10. Seat belts once involved in a serious accident must be discarded as they are likely to have stretched. 10.11. Belts subjected to oil, acid or heat should be replaced. 10.12. Elastic devices attached to the shoulder strap are forbidden.

Motorsport UK 2025 National Competition Rules Chapter 7 Appendix 7 - Seats Harnesses and Headrests 273

CHAPTER 7 COMPETITOR VEHICLES AND VEHICLE SAFETY REQUIREMENTS Appendix 8 - Exhausts Silencing and Noise Testing

1. Exhausts

1.1. The exhaust system must be isolated from the Driver / Passenger compartment (e.g beneath the floor or secured in casings of solid material).

1.2. No part of the exhaust system on a Racing Car with rear aerodynamic device may extend rearwards beyond the aerofoil.

1.3. If a Racing Car without aerodynamic device must not have exhaust pipes extending more than 600mm beyond the rear wheel axis.

1.4. If Rear Engined Single Seater Racing Car must have the exhaust outlet between 40mm and 600mm from the ground.

1.5. Have all exhaust outlets terminating behind the mid-point of the wheelbase of the vehicle and within 150mm of the outside of the bodywork periphery in plan view.

1.6. Side exhausts must not protrude more than 40mm.

1.7. For Vehicles other than Racing Cars that are not fitted with enveloping bodywork any side exhaust must not extend beyond the plane through the outside of the front and rear tyres with the front wheels in the straightahead position. Cars of Periods A to E and Drag Race Vehicles are exempt from these requirements.

1.8. Exhaust catalytic converters must be fitted to all petrol engined production-based saloon touring and Sports Cars including specialist production and kit cars manufactured after 31/12/99. They may be specified for certain other Formulae. Competitors are reminded of their obligation to maintain such equipment on a Vehicle used on the highway where government legislation requires it.

1.9. Exhausts must not protrude to the rear of the bodywork more than 15cm.

2. Silencing

2.1. The reason for Silencing ( NOISE CONTROL) is to reduce environmental impact and to keep Motor Sport running. Environmental Protection legislation has increased the pressure on activities generating Noise and Local Authorities have the power to suppress any Noise source deemed to be causing a nuisance. Our system of control is acceptable to most Environmental Bodies and must be considered as part of eligibility to Compete in Events.

2.2. All competing Vehicles are subject to mandatory silencing unless a specific waiver for that Class or Formula is granted. Where specified as mandatory a silencer must be used irrespective of the exhaust Noise generated without it.

2.3. Vehicles which comply with the Technical Regulations of FIA Formulae and Championships set out in the current FIA Yearbook and other FIA approved Championships, Series and Cups which are participating in races for such Formulae Championships, Series and Cups at Events which have been entered on the FIA International Calendar are exempt from ASN Noise test requirements but must comply with the Noise test requirements set out in the appropriate Formulae Championship , Series or Cup Regulations.

2.4. Silencing is not mandatory in competitions catering exclusively for the following categories of Vehicle but is strongly recommended and may be made mandatory in the Official Documents at the request of the Circuit / Venue owners:

All Vehicles of Periods A to D. (This does not include Events any part of which takes place on the Public Highway where national laws will apply.)

a.

b. Formula 1 and other Single Seater Racing Cars of Periods E and F. c. Drag Race Vehicles.

Motorsport UK 2025 National Competition Rules Chapter 7 Appendix 8 - Exhausts Silencing and Noise Testing 274

2.5. For GB3, British GT and British Touring Car Championships the Noise test shall be conducted as set out within these regulations with the engine running at 3/4 maximum speed the Noise level meter at a height of 0.5 metres above the ground (± 0.1 metre) located at 45° to and 0.5 metres distant from the exhaust with a maximum permitted Noise level of 118dB(a).

2.6. Temporary Silencers by-pass pipes or the inclusion of temporary parts to achieve silencing requirements are prohibited. Officials may refuse to carry out Noise Checks on vehicles utilising temporary parts in exhaust systems. Organisers are empowered to disqualify in such situations.

2.7. Circuit / Venue owners / Organisers may impose additional restrictions including in the Official Documents .

3. Noise Test Requirements ( Appendix 13 Chart 1 ) Noise testing should be carried out BEFORE taking part in any Competition.

3.1. Specific Regulations apply to Rally (Chapter 13 ) and Kart Racing ( Chapter 18 ). 3.2. The time and location of Noise testing should be advised to Competitors prior to the Event.

3.3. Measurements will be made at 0.5m from the end of the exhaust pipe with the microphone at an angle of 45° with the exhaust outlet and at a height of 0.5 to 1.0m above the ground.

3.4. Where more than one exhaust outlet is present the test will be repeated for each exhaust and the highest reading will be used. In circumstances where the exhaust outlet is not immediately accessible the test may be conducted at 2.0m from the centre line of the vehicle at 90° to the centre line of the vehicle with the microphone 1.2m above the ground.

3.5. Measurements should be made outdoors with no large reflecting objects (e.g walls etc.) within 3.0m (in the 0.5m test) or within 10.0m (in the 2.0m test).

3.6. Background Noise levels should be at least 10dB(A) below the measured level.

3.7. Where possible measurements should be taken as close as possible to the vehicle at the defined distances to avoid background Noise .

3.8. Cars of Periods A to D falling within Sections C and D should run engines at two thirds maximum RPM. 3.9. The 2.0m test can be made from either side of the Vehicle. 3.10. The highest reading registered being the one needing to comply with the maximum Noise requirements.

3.11. It is stressed that all participants in Motor Sport Competitors Officials Marshals etc. should be aware of and protect themselves from Noise .

Motorsport UK 2025 National Competition Rules Chapter 7 Appendix 8 - Exhausts Silencing and Noise Testing 275

CHAPTER 7 COMPETITOR VEHICLES AND VEHICLE SAFETY EQUIPMENT Appendix 9 - Onboard Cameras

1.1. The carrying of on-board cameras / videos for personal use is permitted unless prohibited by Event regulations. The carrying of on-board cameras / videos for commercial use is prohibited unless authorised by the Event Organiser.

1.2. Where Event or Championship Regulations require the fitting of a camera, the location and method of fitting should be specified.

1.3. Where forward facing cameras are fitted for judicial purposes they should be mounted to capture an image that provides a ‘driver ’s eye’ view that should include, where possible, the steering wheel, ‘dashboard’ and a view of the Course ahead with a field of vision of approximately 100 degrees. In open wheel cars and Karts both front wheels should be in view where possible. The fitting of rear-facing cameras may also be required for judicial purposes.

1.4. Where cameras are permitted but not mandated by the Organiser, they may be mounted in any location on the Vehicle which is considered safe by the Chief Scrutineer.

1.5. The mounting of any camera must be specifically approved by the Chief Scrutineer . Any mountings must use a mechanical means of attachment sufficiently robust to withstand anticipated stresses and vibration and must not present any sharp edges or projections in the vicinity of the driver ’s body or helmet. Where possible, a secondary means of attachment should also be used. Suction mounts are not acceptable as the primary mounting method. Where cameras are fitted by professional TV or film companies, the Chief Scrutineer has discretion to approve non-mechanical mountings.

1.6. For Karting the above provisions apply but the weight of the camera excluding any additional casing and mounting and associated fixings must not exceed 100gms.

1.7. Competitors may be obliged to use mountings and / or cameras specified and / or approved by the Organiser and these too must comply with the above Regulations.

1.8. Fitting of cameras to helmets is only permitted in accordance with Chapter 9 whereby only the helmet manufacturer ’s integral camera can be used and the helmet with camera installed is approved under an accepted standard.

1.9. Fitting of on-board cameras in Road Rallies is forbidden.

1.10. Unless specified by the Organisers the choice of system is free but playback must be possible at the Event by regular means such as a laptop computer.

1.11. Clerks of the Course and Stewards should not refuse to view relevant on-board footage during any judicial process unless they consider there is a good reason why it should not be viewed (in which case such reason must be stated as part of their written decision).

1.12. Where the camera has not remained under the control of the Organisers the Judicial body must be satisfied as to the authenticity of such footage and must consider the weight they will give to such evidence.

1.13. Where a camera is mandated, if no images are available upon request (other than due to a proven defect with the equipment) sanctions may be applied in accordance with Chapter 2. The burden of proof to establish the cause of such failure shall lie with the Competitor.

1.14. The Clerk of the Course may also refer the matter of lack of recorded images to the Stewards of the Event for further sanctions or referral to the ASN.

1.15. In the Event of judicial action being instigated all relevant on-board footage must be retained until the time period for conclusion of all judicial matters has elapsed.

1.16. All on-board footage recovered from a Vehicle involved in a Serious Incident must be retained by the ASN Steward where appointed (otherwise by the Senior Event Official ) and forwarded to the ASN with the Incident Report .

Motorsport UK 2025 National Competition Rules Chapter 7 Appendix 9 - Onboard Cameras 276

1.17. Where it is necessary for a Clerk of the Course to review footage after an Event such footage should normally be reviewed within a period of 7 days of the Event always subject to the Right of Review.

1.18. Competitors should be aware of any rights including copyright in relation to footage captured by on board cameras at an Event . Footage may not be shared or otherwise used for broadcast or commercial purposes or on social networking sites, forums or any other internet media without the permission of any rights holders.

1.19. Any breach of camera regulations may be subject to the penalties provided for in Chapter 2 with an option to report any matters to the Championship Stewards where appropriate.

Motorsport UK 2025 National Competition Rules Chapter 7 Appendix 9 - Onboard Cameras 277

CHAPTER 7 COMPETITOR VEHICLES AND VEHICLE SAFETY EQUIPMENT Appendix 10 - Competition Numbers

Competition Numbers must be:

1.1. Competition Numbers must be visible, and:

a. displayed on each side of the Vehicle (front doors, alongside the cockpit or on rear wing end plates) and on the foremost part of the nose. b. c.

d. amended and / or repositioned if required by the Officials of the Event

Numbers must be displayed in a durable manner and be black, of a minimum size of 23cm high with stroke width of a minimum of 3.8cm on a white oblong background measuring not less than 48cm x 33cm which must extend at least 5cm beyond the outline of the numbers. Alternatively, the numbers may be displayed on a white circular background provided that the background extends at least 5cm beyond the outline of the numbers.

If on a white vehicle a background of the dimensions in 1.1 must be delineated by a continuous black line, except for cars of period A to E.

1.2. Discipline specific requirements are contained in the individual discipline Chapters to the NCR .

1.3. Certain types of Competition have special requirements which will appear in the Official Documents (Subject to approval by the ASN ) (see Chapter 18 App.8 Art.30 for Kart Numbers and Chapter 12 App.4 Art.5 for Circuit Racing ).

1.4. Note. Consideration should be given at all times to the positive identification of vehicles by the Competition Organisers whose decisions will be final.

1.5. The numbers must be of the ‘Classic’ type as shown below: 1 – 2 – 3 – 4 – 5 – 6 – 7 – 8 – 9 – 0.

1.6. In International Events on both front wings an illustration of the national flag(s) of the Driver(s) as well as the name(s) of the latter shall be displayed. Minimum height of both flag(s) and name(s) shalll be 4cm.

1.7. If a Vehicle is being driven to and from the Event on the Public Highway then any Competition Number identifying the Vehicle during a Competition MUST be removed at the finish of the Event.

1.8. Organisers may use three figured numbers subject only to the specific approval of the Chief Timekeeper.

Motorsport UK 2025 National Competition Rules Chapter 7 Appendix 10 - Competition Numbers 278

CHAPTER 7 COMPETITOR VEHICLES AND VEHICLE SAFETY EQUIPMENT Appendix 11 - Electrified Vehicles

1. Technical

1.1. The term Electrified Vehicle (‘ EV ’) is used in these regulations to cover all forms of Electrified Vehicles (including those defined in FIA Appendix J – Article 251) : mild Hybrid Electric Vehicle (‘mHEV’), Hybrid Electric Vehicle (‘HEV’) / Full Hybrid Electric Vehicle (FHEV), Plug-in Hybrid Electric Vehicle (PHEV) and Electric Road Vehicle (‘ERV’) / Battery Electric Vehicle (‘BEV’).

1.2. High Voltage (HV) shall be as defined in FIA Appendix J Art 251 3.1.10 (from ISO 6469-1:2009): > 30V AC and ≤ 1000V AC or > 60V DC and ≤ 1500V DC.

1.3. An EV may contain a High Voltage (HV) or Low Voltage (LV) propulsion system.

1.4. As a general principle in all Technical Regulations it is prohibited to carry out any tuning or modification that is not specifically permitted. The fact that some modifications are mentioned as prohibited does not imply that others are allowed.

1.5. Changes to these Technical Regulations made on grounds of safety may be enforced immediately without notice.

1.6. These General Technical Regulations are for individual Vehicle builds. Championships for specific Vehicles not in accordance with these regulations may apply for approval which will be considered at the discretion of the ASN.

1.7. Permitted Electrified Vehicle Types ( App.13 Chart 3 )

1.8. These regulations apply to any modified National Type Approved or Bespoke / prototype EVs intended for Competition use. Standard and unmodified production EVs are subject to the existing requirements of the ASN and the FIA where applicable.

1.9. A Standard Vehicle is defined as built by the manufacturer in accordance with its homologation / type approval with no modifications or alteration of the Vehicle structure, powertrain, or electrified propulsion system. E.g., Competition seats using the original mounting points and fasteners are permitted. A ROPS requiring fastening to the Vehicle structure is prohibited.

1.10. A Modified Vehicle is a Standard Vehicle with non-powertrain modifications only (including fitment of safety equipment including ROPS which alters the Vehicle structure). No modifications to the internal combustion engine (ICE) and / or electrified propulsion system are permitted.

1.11. A Bespoke Vehicle is one designed and constructed from scratch including prototypes. Only Bespoke BEVs are permitted. Bespoke includes prototype or otherwise unique competition Vehicles .

1.12. A production Vehicle with the ICE powertrain replaced by an electric one is classified as Bespoke. 1.13. Hydrogen powered fuel-cell hybrid and electric Vehicles are prohibited.

1.14. These Technical Regulations cover all EVs, but not all regulations apply to all Vehicles. For example, the HV safety related requirements do not apply to an mHEV , as these operate at a nominal DC voltage of 48V which is lower than the 60V DC limit ( Table 1 ).

1.15. The discipline-specific Sporting Regulations will determine which category of EVs are allowed to compete in which discipline.

1.16. Except for Standard EVs in non-Speed Events all EVs must be in possession of a valid Vehicle Passport to compete. Modified and Bespoke EVs must undergo and pass a Vehicle Passport inspection irrespective of discipline or Category.

1.17. Electric Vehicle Passports will be issued by the ASN . 1.18. See Art.2 EV Passport and Inspection Process for more details. 1.19. Additional requirements or restrictions from discipline and/or category specific regulations shall apply

Motorsport UK 2025 National Competition Rules Chapter 7 Appendix 11 - Electrified Vehicles 279

2. EV Passport and Inspection Process.

2.1. Anyone considering building a Bespoke EV for Competition use must supply a project outline, including details / qualification of those engineering the Vehicle for review by ASN Technical Department prior to starting construction. On-going dialogue between the entrant and the ASN throughout the build process is encouraged to minimize the risk of non-compliance with these regulations when Vehicle is inspected

2.2. Standard EVs may be issued with a Vehicle Passport without inspection upon application to the ASN.

2.3. Modified and Bespoke EVs must undergo and pass a Vehicle Passport inspection and be in possession of a valid Passport to compete irrespective of discipline or Category .

2.4. For a modified production Vehicle , the inspection will include a comprehensive visual inspection to ensure that installation of the ROPS and non-powertrain modifications have not compromised the HV system.

2.5. No repositioning of HV components (incl cables) is permitted.

2.6. For a Bespoke Vehicle a detailed technical inspection of the entire Vehicle including the EV system, and its safety systems will be required. An EVP will be issued once the Vehicle has passed the inspection.

2.7. See Chart 3 for EVP requirements.

2.8. Where a Bespoke or Modified OEM EV is intended for a single make / one make series and all Vehicles are built / modified by the same organisation then only the first Vehicle in a batch will require full inspection. All subsequent Vehicles from the batch will be issued with an EVP following written confirmation by the build organisation that the follow-on Vehicles are identical to the first Vehicle.

2.9. Electric Vehicle Inspections must be arranged by appointment with the ASN and will be carried out by an ASN Technical Official .

2.10. The Entrant must provide all data / evidence to the ASN 3 months prior to the Vehicle inspection as summarised below:

a. RESS impact protection details ( Art.8.1 ) if mounted underfloor. b. RESS Structural calculations or crash test/simulation results ( Art.8.3 ). c. UN 38.3 and MSDS for cells ( Art.9.3 ). d. Cell chemistry details. e. BMS including cell temperature monitoring details ( Art.10.4 ). f. Isolation Surveillance System details ( Art.12.20 ). g. Vehicle specific Emergency Services Guide ( Art.12.21 ). h. Detailed EV system schematic ( Art.12.22 ). i. Vehicle specific functional switching diagram ( Art.14 ). j. Crash HV Isolation FMEA ( Art.16.8 ). k. Details of throttle fail safe system ( Art.18 ). l. Off-board charger details ( Art.5.1 ). m. On-board charger details ( Art.19.2 ).

2.11. In addition to the Vehicle the Entrant must provide the following to enable the inspection to proceed:

a. Completed Technical Inspection form. b. Detailed Build log with photos of the HV system components and installation. c. Photos of the EV components / features to be added to the EVP. d. Evidence of team personnel HV qualifications. e. An Emergency Services Guide specific to the Vehicle undergoing inspection.

Motorsport UK 2025 National Competition Rules Chapter 7 Appendix 11 - Electrified Vehicles 280

f. The team HV qualified person. g. HV tools and safety equipment required to support the inspection. h. Example of the off-board charger to be used.

2.12. The Vehicle will be examined at a location mutually agreed between the Entrant and the ASN . If inspection of the EV system requires access to the underside of the Vehicle a suitable Vehicle hoist or lift will be required. The use of jacks and axle / chassis stands is not permitted. The Venue must have a mains power supply suitable for the off-board charger.

2.13. A second inspector may be present (for training and/or HV safety reasons) at the inspection. 2.14. The entrant will bear all fees arising from and the costs incurred by the inspection.

2.15. The entrant is responsible for ensuring that the Vehicle satisfies all the ASN EV requirements and is presented for inspection in a finished and competition-ready condition.

2.16. All items on the Inspection Checklist must be clearly visible to the inspector without using instruments such as endoscopes or mirrors. Visible access may be provided by removing body panels or via removable access panels. Covers on the traction battery must only be removed by the nominated team HV qualified person if requested by the technical inspector.

2.17. Demonstration of the correct function of the indication and safety systems and the on/off-board charging systems forms part of the inspection. Correct response to a simulated crash Event must also be demonstrated by the HV safety system.

2.18. The inspection of Bespoke EVs will examine all items included on the EV Inspection Checklist plus any other items the inspector may wish to examine. The exact procedures and instruments employed for inspection and testing are entirely at the discretion of the Technical Inspector.

2.19. The Inspection of Modified EVs will focus on ensuring that the installation of the safety items (ROPS, seat, fire extinguisher) has not damaged or disturbed any part of the EV system. It is prohibited to reposition any part of the EV system (including cables).

2.20. If any part of the Vehicle EV system does not comply with the requirements or is deemed to be a concern, the entrant must correct the problem and re-present the Vehicle for inspection. Minor faults may be rectified immediately, major issues will require a new inspection to be arranged and paid for.

2.21. The decision of the ASN inspector concerning compliance with the EV regulations is final and cannot be appealed.

Scrutineering

3. Safety 3.1. Only ASN EV trained Scrutineers will perform safety scrutineering on EVs . 3.2. A valid VP or EVP must be provided at Safety Scrutineering .

3.3. HV Vehicle Safety scrutineering procedures will include but not be limited to visual inspection of the EV system and demonstration of the correct function of the safety and indication systems.

3.4. The Team HV qualified person must be present at Safety scrutineering equipped with their own set of HV safety equipment and tools as required.

3.5. The Vehicle specific Emergency Response Guide must be provided to the circuit/ Venue / Organiser ’s emergency services team before the Vehicle is allowed to compete.

3.6. ASN Technical Officials can require the Vehicle to be re-inspected at any time during an Event .

4. Eligibility 4.1. Only ASN EV trained Scrutineers will perform eligibility scrutineering on EVs .

Motorsport UK 2025 National Competition Rules Chapter 7 Appendix 11 - Electrified Vehicles 281

4.2. ASN Technical Officials reserve the right to request access to any set-up information or data from the Vehicle ECU(s) and other electrical devices at any time during an Event including data that proves compliance with Arts.7.3 and 7.5 .

4.3. It is the responsibility of the Competitor to prove that the Vehicle has not exceeded any control parameter limits during an Event (e.g. maximum power, maximum voltage etc.).

4.4. ASN Technical Officials reserve the right to request that the Vehicle be fitted with a data logger.

4.5. The Team HV qualified person must be present at Eligibility scrutineering (equipped with their own set of HV safety equipment and tools as required) and be prepared to safely isolate the HV system and remove any HV components for more detailed inspection at the request of the Scrutineer.

4.6. Sealing requirements for HV system components will be developed and published in due course.

5. Charging

5.1. Off-board chargers must be commercially available and meet all UK Electrical safety requirements. Details must be supplied to the ASN 3 months prior to the Vehicle inspection.

5.2. Standard and Modified Vehicles must use the unmodified on-board charger, charge port and charging cable(s) supplied with the Vehicle .

5.3. Charging of the RESS must be done with the battery(s) in-situ.

5.4. Any temporary charging installation must be installed and connected to the mains supply by a trained competent person following the Code of practice for Electric Vehicle Charging Equipment Installation , 3rd edition and meet all the requirements of BS7671: 2018 (the 18th Edition wiring regulations), with particular attention paid to earthing.

5.5. The charging system must be automatic and must ensure that the battery cannot be overcharged or damaged if left permanently connected to the charger.

5.6. The use of diesel or petrol generators to provide the energy to charge EVs is strongly discouraged. ASN are working with Circuit / Venue owners to investigate provision of sustainable charging facilities.

IN ADDITION A BESPOKE ELECTRIFIED VEHICLE MUST COMPLY WITH Arts.6–19 .

6. Motor and Inverters

6.1. A maximum of two motors, whose output are combined mechanically driving the wheels through a mechanical gearbox and differential are permitted. A maximum of two inverters are permitted. In Drag Racing there is no limit on the number of motors or inverters.

6.2. Only a single driven axle is permitted i.e. FWD or RWD. 6.3. Any system that achieves torque vectoring across or between axles is prohibited. 6.4. Hub / wheel motors are prohibited. 6.5. Only commercially available production motors and inverters are permitted. 6.6. Repurposing of OEM motors and inverters is permitted.

6.7. The inverter may be integrated with or separate from the motor. The motor may be integrated with or separate from the gearbox.

6.8. Brushed DC motors are permitted and motors with exposed commutators must be fitted with a commutator shield.

6.9. If the motor or inverter is liquid cooled, >51% water- based coolant must be used. The use of Dielectric fluid is prohibited.

6.10. If the motor is air cooled, all ventilation holes must be small enough to prevent the passage of a 12mm diameter spherical test object through all holes.

Motorsport UK 2025 National Competition Rules Chapter 7 Appendix 11 - Electrified Vehicles 282

6.11. When an electrical motor casing is rotating around the stator, a scatter shield must be included to surround the rotating parts of the motor. The shield must be constructed from min 2mm steel or 3mm thickness aluminium alloy. Does not apply to motors fully enclosed in the transmission housing.

6.12. All motor and inverter connections that use bolted HV terminals must be fitted with moulded insulated terminal covers that are sealed to satisfy a minimum IP65 rating.

6.13. All HV power electronics on the Vehicle (including inverter, motor, charger and DC/DC converter must be designed to work safely at the maximum voltage on the Power Bus.

Rechargeable Energy Storage System (RESS)

7. General 7.1. The RESS must be comprised of a maximum of 2 separate traction battery enclosures per Vehicle . 7.2. Capacitor and flywheel energy storage systems are prohibited.

7.3. For Bespoke EVs the maximum total power going out of the RESS at any time is limited to 500kW, except for Drag Racing where the limit is 1MW.

7.4. For National Type Approved EVs the power out of the RESS may not exceed the homologated power.

7.5. For Bespoke EVs the maximum voltage on the Power Bus must never exceed 900V, except for Drag Racing where the limit is 1000V.

7.6. For National Type Approved EVs the maximum voltage must not exceed the homologated maximum voltage.

7.7. The RESS must include appropriately specified fuses or circuit breakers to prevent over-current in the event of short circuit. The protection devices must be located inside the RESS as close as possible to the main power bus connectors.

7.8. The RESS must be capable of being isolated from the Power Circuit by at least two independent systems (e.g. contactor or a manually operated Service Switch). There must be at least one manually operated system and one automatic system (under control of the BMS or Electronic Control Unit). The Service Switch may be a High Voltage (HV) or Low Voltage (LV) device. Any HV device should be orange and designed such that no HV potential is exposed when the device is operated / removed. If HV Service switches are used, they must be fitted into each battery pack. If a LV switch is used, only one is required (preferably mounted on one of the battery packs). The location of the Service Switch(es) should be clearly marked.

8. Enclosure

8.1. The RESS must be installed within the survival cell, passenger compartment, engine compartment or boot of the Vehicle . Underfloor installation of the RESS is permitted if full impact protection is provided to meet the 60kN FIA impact energy requirements. Full details of the impact protection must be provided to ASN 3 months prior to the Vehicle inspection.

8.2. The RESS must not be used as a stressed member.

8.3. Calculations must be provided to the ASN 3 months prior to the vehicle inspection to confirm that mechanical and electrical safety is ensured in a crash. The RESS may be required to pass a crash test defined by the ASN . See ASN website for an example calculation for a battery module and battery pack

8.4. The RESS enclosure must be to a minimum rating of IP65.

8.5. Modules must be mechanically secured inside a metallic or composite enclosure. Any covers or access panels must be sealed and secured with fasteners requiring tools to remove.

8.6. The RESS must be designed to prevent short circuit of the conductive parts. In the event of compartment or component deformation, the design must ensure that no fluids enter the cockpit / Passenger compartment.

8.7. The RESS must prevent the build-up of an ignitable gas / air or dust / air concentration inside the compartment by means of a burst valve or vent tube, positioned away from the Driver. Any vent tube if fitted must discharge direct to atmosphere external to the Passenger compartment or survival cell.

Motorsport UK 2025 National Competition Rules Chapter 7 Appendix 11 - Electrified Vehicles 283

8.8. All HV connections to the RESS must be made using either proprietary HV connectors with High Voltage Interlock Circuitry (HViL) or the cables must pass through HV rated cable glands of suitable size to match the cable and which preserve the IP rating of the external enclosure.

8.9. The enclosure containing the modules must also contain the BMS voltage and temperature sensing elements associated with the modules, service switch, fuses / circuit breakers and contactors.

9. Modules

9.1. Off-the-shelf commercially available or repurposed production modules must be used to make battery packs. It is prohibited to assemble battery modules or packs from individual cells.

9.2. It is prohibited to modify the battery modules in any way.

9.3. The Competitor must supply documents from the module producer specifying safety relevant data, including manufacturers’ datasheet: UN38.3 report and Material Safety Data Sheet (MSDS). Including battery characteristic diagram showing the battery limits of voltage (U), power (W), temperature (T) and State of Charge (SoC). These documents must be provided to ASN 3 months prior to the Vehicle inspection. Equivalent data from a 3rd party test house may be submitted in place of manufacturers data. Evidence of test house capability must be included as part of the submission.

10. Battery Management System 10.1. A Battery Management System (BMS) from an approved supplier is mandatory. 10.2. For Modified EVs the architecture of and functionality of the BMS must not be changed from standard.

10.3. The BMS must ensure that all cells do not exceed the manufacturers stated limitations for voltage, current and temperature under any circumstances.

10.4. The BMS in all cases must monitor every serial cell for voltage and a minimum number of cells (evenly distributed throughout the modules/pack) for temperature in order that the hottest, coldest and average cell temperatures are monitored. Full details of the temperature monitoring must be provided to ASN 3 months prior to the Vehicle inspection.

10.5. In the event that any cell exceeds the manufacturers stated limitations for voltage and / or temperature, within 2 seconds the BMS must reduce power to less than 5kW in order to leave the course or automatically isolate the battery from the traction circuit if it is not safe to reduce power.

11. Cooling 11.1. If the RESS is liquid cooled, >51% water-based coolant must be used. 11.2. The cooling liquid must not come into direct contact with any active components within the RESS.

12. Electrical Equipment and General Electrical Safety 12.1. Specifications for general electrical safety are laid down in Appendix J – Article 253-18.1.

12.2. Specifications for the Power electronics (inverters, DC / DC converters, on-board charger etc.) are laid down in Appendix J – Article 253-18.5.

12.3. Any Vehicle with an electrical system operating at a voltage exceeding 60V DC or 30V AC must display the label detailed in App.13 Diagram 6 next to all Competition Numbers . Label minimum size 75mm x 75mm x 75mm.

12.4. In cases where the voltage of the Power Circuit belongs to voltage class B (2.9), symbols warning of “High Voltage” must be displayed on or near the protective covers of all electrical equipment that may operate at high voltage ( App.13 Diagram 6 ). The symbol background must be yellow, and the bordering and the arrow must be black, in accordance with ISO 7010. Each side of the triangle should measure at least 120mm but may be reduced to fit onto small components.

12.5. No HV potential should be exposed anywhere on the Vehicle during normal operation.

Motorsport UK 2025 National Competition Rules Chapter 7 Appendix 11 - Electrified Vehicles 284

12.6. The design of the system must be such to ensure that a single point of failure cannot cause an electric shock hazardous to life.

12.7. HV Electrical cables and electrical equipment must be protected against any risk of mechanical damage (stones, corrosion, mechanical failure, etc.) as well as any risk of fire and electrical shock.

12.8. The voltage class B components and wiring must comply with the applicable sections of IEC 60664 on clearances, creepage distances (3.4.2) and solid insulation; or meet the withstand voltage capability according to the withstand voltage test given in ISO/DIS 6469-3.2:2010.

12.9. A plug must physically only be able to mate with the correct socket of any sockets within reach. All HV Power Circuit connectors must not have live contacts on either the plug or the receptacle unless they are correctly mated.

12.10. All parts of the electrical equipment must be protected using an appropriate IP class with min IP65 protection on all HV components.

12.11. The HV traction circuit must be isolated from the Vehicle Chassis.

12.12. All HV cabling must comply with LV 216-2, ISO 6722 and ISO 14572 Construction of HV wiring systems for Hybrid and Electric Vehicles . All cables must be orange and shielded, either internally or by conduit and must be securely fixed to the Vehicle chassis using insulated fixings. Tie wraps are not acceptable. Cable conductor material must be copper. The use of aluminium bus bars and terminals is permitted.

12.13. All cable terminals must be crimped, or laser welded with a certificate of conformity if not OEM produced. The use of soldered terminals is prohibited.

12.14. All HV cable runs must be a single contiguous piece of cable between connectors / terminals. Any cable joins or splices must be achieved using bolted terminals securely fixed in a min IP65 rated enclosure with glands / strain relief on the cable entry points. Any covers or access panels must be sealed and secured with fasteners requiring tools to remove.

12.15. Any HV ancillary equipment (contactors, relays, fuses, current shunts etc.) not located in the battery enclosure(s) must be securely located in a min IP65 rated enclosure with glands / strain relief on the cable entry points. Any covers or access panels must be sealed and secured with fasteners requiring tools to remove.

12.16. All Class B Power Circuit connectors must not have live contacts on either the plug or the receptacle unless they are correctly mated. An automatic HViL (High Voltage Interlock) system must be present in every HV connector and detect if a Power Circuit connector is de-mated, for example with shorter alarm contacts within the same connector and inhibit / remove High Voltage from both the plug and the receptacle. If the connector was live when de-mated, the high voltage must be switched off immediately and any residual voltage on the contacts of both the plug and the receptacle discharged to <60V DC within 4 seconds. Remating of the connector must not re-energise the circuit.

12.17. All class B Power Circuit connectors and cabling must provide mechanism for locking, strain relief and sealing to the cable assembly.

12.18. All major conductive parts of the body must be connected e.g. with wires of appropriate dimension to obtain equipotential bonding.

12.19. No part of the Chassis or bodywork should be used as a current return path.

12.20. The distribution of high currents in the HV DC network must be made in a star-point configuration and not in a loop, in order to avoid potential shifts resulting from current flows. The star-point of the electrical reference potential is referred to as “Power Circuit Ground".

12.21. 12:21 Every part of the electrical equipment must have a minimum insulation resistance between all live components and earth of 500 Ohms per volt. The measurement of the insulation resistance must be carried out using a DC voltage of at least 100 volts.

Motorsport UK 2025 National Competition Rules Chapter 7 Appendix 11 - Electrified Vehicles 285

12.22. 12:22 Unless the function is already provided by the BMS a proprietary isolation surveillance system must be used to continuously monitor the status of the isolation barrier between the voltage class B (2.9) system and the Chassis while the HV system is energised.

12.23. If not part of the BMS the proprietary isolation surveillance system must be located within the battery enclosure and wired in series with the main battery contactors. If an isolation fault is detected, the system shall open the circuit breaker automatically and trigger the “Danger” state of the RESS Status Indicator. Full details of the isolation surveillance system must be provided to ASN 3 months prior to the Vehicle inspection.

12.24. The Competitor must provide a detailed “Emergency Services Guide” documenting all aspects of the HV system including component locations and details of the standard and emergency HV isolation procedures. This document should be structured in the same way and have similar content to the guides provided by OEM’s for production EVs and must be provided to ASN 3 months prior to the Vehicle inspection.

12.25. See App.13 Diagram 3 for an example of the EV System Schematic showing all components and connections. The Vehicle specific version must be provided to ASN 3 months prior to the Vehicle inspection.

12.26. On Vehicles without a 12v alternator, a DC / DC converter of suitable power rating must be provided to charge the auxiliary battery and electrical system.

12.27. The auxiliary battery must never be used to recharge the traction battery.

SAFETY EQUIPMENT. 13. Driver master switch

13.1. All Vehicles must be equipped with a general circuit breaker of sufficient capacity and which can be operated easily by a switch from the driver ’s seat when the Driver is seated in a normal and upright position, with the safety belts fastened and the steering wheel in place and from the outside to cut off all electric transmission devices.

13.2. This switch MUST act as a General Circuit Breaker that interrupts ALL electrical transmission between the RESS and all other HV circuits by means of a spark-proof circuit breaker providing galvanic switching which MUST NOT be short- circuited by any components such as a pre-charge resistor. Low power batteries provided for low voltage circuits, for example auxiliary circuits, do not have to be isolated by the general circuit breaker provided that they are completely isolated from the main power accumulators.

13.3. In the event that the circuit breaker is activated, the HV potential, outside the RESS, must drop below 60V DC with 4 seconds.

13.4. Specifications for the General Circuit Breaker are laid down in Appendix J – Article 253 18.17.

14. Fire Extinguisher

14.1. All Vehicles must be equipped with an electrically operated plumbed in extinguishing system in accordance with App.6 Art.1.1. Only systems with an extinguishing medium proven to not create a conductive atmosphere and in compliance with the below list are authorised:

• Novec 1230 or FX G-TEC FE36. 15. Extinguisher switches

15.1. The system must have three points of triggering, one for the Driver and two exterior actuators. These external actuators must be situated at the base of the main rollover structure on both sides of the Vehicle for a single seater or at the lower corners of the windscreen for a closed cockpit Vehicle .

15.2. A means of triggering from the outside must be combined with the general circuit breaker switches.

15.3. The actuators must be marked with a letter "E” in red at least 80mm high, with a line thickness of at least 8mm, inside a white circle of at least 100mm diameter with a red edge with a line thickness of at least 4mm. See App.13 Diagram 4 for an example.

Motorsport UK 2025 National Competition Rules Chapter 7 Appendix 11 - Electrified Vehicles 286

15.4. Pressing the fire extinguisher button must also activate disconnection of the High Voltage Battery.

15.5. The electrical circuits for the fire extinguisher and the HV battery isolation must be electrically separated by the use of a two-pole momentary-on button that is waterproof to IP67.

15.6. When using a homologated fire extinguisher system designed for an ICE it is permitted to exchange the trigger buttons for alternatives that comply with the requirements listed herein.

16. Marshal Neutral Switch

16.1. To enable a marshal to isolate the RESS from the power bus in less than 2 seconds, external switch(es) which operate the general circuit breaker must be provided, which:

16.2. For a single seater, a single switch must face upwards and be recessed into the top of the survival cell no more than 150mm from the Vehicle centre line and less than 150mm from the front of the cockpit opening and less than 70mm from the extinguisher switches defined in Art.12.6.

16.3. For a saloon two switches must face upwards and be recessed into the windscreen scuttle on either side, no more than 150mm from the side of the Vehicle , 350mm from the door aperture and less than 70mm from the extinguisher switches defined in Art.12.6.

16.4. Each switch must be designed such that the power circuit cannot be energized using the external switch. The method of triggering (push, pull or rotation direction) must be clearly marked.

16.5. Each switch must be marked with a red spark in white edged blue triangle with a base of at least 120mm. The angle of the triangle where the spark is pointing to, must point to the button. It must be associated with a letter "N" in blue inside a white circle at least 50mm in diameter and with a blue edge. The height of both symbols must be at least 100mm. See App.13 Diagram 5 for an example.

16.6. It is prohibited to cover the external switches in any way whatsoever.

16.7. In a crash all energy sources of the Power Circuit must be switched off automatically and the full RESS must be isolated. The arrangements must be validated by the Failure Mode and Effects Analysis (FMEA) which must be provided to ASN 3 months prior to the Vehicle inspection. An FIA approved Accident Data Recorder may be used to initiate the shutdown.

16.8. 16.8 All switches ( Driver Master, Neutral and Extinguisher) must operate at a nominal 12V.

16.9. See App.13 Diagram 3 for an example of the functional switching diagram. The Vehicle specific version must be provided to ASN 3 months prior to the Vehicle inspection.

16.10. Safety Indicator requirements are based on the specifications laid down in Appendix J – Article 253 18.22. 16.11. All indicators must have a viewing angle of at least 120° and a luminous flux of at least 8 lumens.

17. HV RESS status light 17.1. All Bespoke Vehicles with a HV RESS must be fitted with a HV RESS Status indicator light, which:

a. Is a Red/Green light that indicates the safety status of the RESS. b. Must be in working order throughout the Event even if power on the Vehicle has failed. c.

Indications must be visible from any point around the car, manufacturer may install multiple devices to achieve it.

d. Remains powered for at least 15 minutes after the general circuit breaker is activated. e. Is marked with a “HIGH VOLTAGE” symbol (see App.13 Diagram 6 ). f.

Has repeater indicator light on the dashboard the replicates the states of the main light. This does not have to comply with Art.8.5.

17.2. See App.13 Chart 4 for the HV RESS Status indicator states.

Motorsport UK 2025 National Competition Rules Chapter 7 Appendix 11 - Electrified Vehicles 287

17.3. Ready-to-Move-light

17.4. All Bespoke EVs that have an EV system that is capable of propelling the Vehicle must be fitted with a Ready- to-Move light, which:

a.

Is a white light (at the front) and an orange light (at the rear) that will illuminate to indicate that the Vehicle can move if the throttle pedal is pressed.

Must light up and illuminate to the front and rear of the Vehicle respectively, parallel to the centre line of the Vehicle .

b.

c. Will flash “on” for 0.05 seconds and “off” for 2 seconds whilst the Vehicle is charging. d.

Will flash "on" for 0.5 seconds and "off" for 0.5 seconds if, when the system has been requested to energize and the bus voltage has not exceeded 50V.

17.5. See Table 4 for the Ready-To-Move indicator states.

18. Throttle failsafe

18.1. All Bespoke Vehicles must be equipped with a throttle fail safe system, which in case the throttle and brake pedal are pressed at the same time, overrides the throttle and cuts the power to the propulsion system. The details of the fail- safe system must be provided to ASN 3 months prior to the Vehicle inspection.

19. Bespoke Vehicle Charging

19.1. Bespoke Vehicles must use a charging system compliant with a recognised charging standard and be able to use public chargers (SAE J1772, IEC 62196, CHAdeMO or Combined Charging System (CCS)) and must follow standard protocols for connecting/disconnecting the charge connector and initiating/stopping the charging process. Only a single external charge port is permitted.

19.2. Bespoke Vehicles must use a commercially available on-board charger (if fitted) and if liquid cooled, >51% water- based coolant must be used. Details must be provided to ASN 3 months prior to the Vehicle inspection.

Motorsport UK 2025 National Competition Rules Chapter 7 Appendix 11 - Electrified Vehicles 288

CHAPTER 7 COMPETITOR VEHICLE AND VEHICLE SAFETY EQUIPMENT Appendix 12 - Scrutineering

This Appendix must be read in conjunction with Chapters 2 – 5 and 8 and 9 as well as relevant discipline Chapters and all Official Documents.

1.1. Technical Officials are Officials of the Event.

1.2. At all times it is the responsibility of the Competitor to establish that the Vehicle presented is in conformity with the Regulations of the Event.

1.3. Before taking part in any Competition or Practice for any Competition requested Vehicles must be presented to the Event Scrutineers for examination and approval.

1.4. The fact of obtaining a Scrutineer ’s approval at pre-Event scrutiny does not indicate that the Scrutineer is accepting any responsibility for the safety or the roadworthiness of the Vehicle nor does it indicate that the Vehicle complies in all respects with the Regulations . Please note that pre-Event Scrutineering or Vehicle Passport inspection by a Scrutineer is only a spot check of a limited number of key safety and eligibility features of a Vehicle’s condition. Approval does not guarantee that the Vehicle meets all applicable regulations or standards and which at all times is the responsibility of the Competitor.

1.5. Subsequent to pre-Event scrutiny any Vehicle involved in an accident or having been modified in any way must be represented to the Scrutineers for further examination.

1.6. At any time during an Event the Clerk of the Course or the Scrutineers (or where applicable to the Stewards of the Event ) may order that a Vehicle be examined or re-examined even if this involves stopping a Vehicle whilst Practising or competing.

1.7. At the conclusion of a Competition a number of Vehicles as agreed by the Clerk of the Course and the Scrutineers or as ordered by the Stewards or as laid down in the Regulations may be required to be presented for Post-Event scrutiny. Such Vehicles will then be in Parc Ferme regardless of their actual location. No work is to be done on such Vehicles after finishing the Competition except by permission or request of the Scrutineers until after the examination is completed and the Vehicle released. It is the responsibility of the Competitor to provide appropriate tools and personnel within an agreed time to carry out the work required.

1.8. The post-Event scrutiny will be mainly directed at the Vehicle’s eligibility and may involve parts of the Vehicle being sealed for subsequent stripping and examination. Subject to the overriding authority of the ASN (Chapter 1 Art.1.4) this should normally be within a maximum of 30 days after sealing although it can be extended by mutual agreement between the Organisers and the Competitor to 50 days. Subject as stated above at the end of the season series or championship it should never exceed 30 days.

1.9. Vehicles or components may be sealed on the instructions of the Clerk of the Course, Stewards of the Event, the Technical Commissioners or following a Protest (Chapter 2). Sealing may be by wire seals special reactive paint or other suitable method. Such seals must not be broken except with the written permission of the person who originally affixed the seal or of the ASN or by the person designated to examine the parts in question. The Technical Commissioner or Scrutineer examining the Vehicle or component will report his findings to the Clerk of the Course for their action.

1.10. If a sealed Vehicle or sealed component is to be examined other than at the Event by a third party on behalf of the Organisers then the Stewards of the Event and the ASN must be notified before the date of any such examination and the ASN may impose condition on that examination.

1.11. Approval of a Vehicle will only be in relation to those items of the Vehicle which have been examined and will only apply to the Event which the Vehicle has just completed.

1.12. Where Vehicle Identification Stickers are required ( App.1 Art.1.11–1.12 ) part of the scrutineering procedure is to affix an ASN sticker to the Vehicle in an appropriate position (near to the chassis identification plate if possible). Stickers may only be affixed by selected Scrutineers , or by the ASN at ASN Headquarters. Motorsport UK 2025 National Competition Rules Chapter 7 Appendix 12 - Scrutineering 289

1.13. Once applied, Vehicle Identification Stickers must remain permanently affixed to the Vehicle. Damaged stickers can only be removed and replaced by selected Scrutineers . New and replacement stickers will be charged at the current fee.

Motorsport UK 2025 National Competition Rules Chapter 7 Appendix 12 - Scrutineering 290

CHAPTER 7 COMPETITIOR VEHICLES AND VEHICLE SAFETY Appendix 13 - Charts and Diagrams

Chart 1 Maximum Noise Limits

2.0m

0.5m

Section ‘ A ’

93

105

CAR RACE (SALOON AND SPORTS CARS) MAXIMUM AT 3 ⁄ 4 MAXIMUM RPM

Section ‘ B ’

96

108

CAR RACE (SINGLE SEATER AND SPORTS RACING CARS) MAXIMUM AT 3 ⁄ 4 MAXIMUM RPM

Section ‘ C ’

88

100

STAGE RALLY, AUTOTEST, TRIALS, MAXIMUM AT 4,500 RPM

ROAD RALLY MAXIMUM AT 2 ⁄ 3 MAXIMUM RPM

Section ‘ D ’

98

86

CCV MAXIMUM COUNTRY AT VEHICLE 2 ⁄ 3 MAXIMUM MAXIMUM RPM AT 2 ⁄ 3 MAXIMUM RPM

100

88

Section ‘ E ’

CROSS

Section ‘ F ’

96

108

AUTOCROSS AND RALLYCROSS MAXIMUM AT 3 ⁄ 4 MAXIMUM RPM

HILLCLIMB AND SPRINT MAXIMUM AT 2 ⁄ 3 MAXIMUM RPM – RACING AND SPORTS LIBRE CARS AND CARS COMPLYING WITH S.13

Section ‘ G ’

110

98

ALL OTHER CATEGORIES

108 96

Motorsport UK 2025 National Competition Rules Chapter 7 Appendix 13 - Charts and Diagrams 291

Chart 2 Regulation Summary

EV Tech Regs Applicability

Regulation

Description

PHEV

BEV

mHEV

LV BEV

HEV

LV

HV

HV

HV

LV

Chapter 1 App . 1 Nomenclature and Definitions

Y

Y

Y

Y

Y

Y

Y

Chapter 7 Competitors Vehicles and Vehicle Safety Equipment

Y

Y

Y

Motorsport UK 2025 National Competition Rules Chapter 7 Appendix 13 - Charts and Diagrams 292

Chart 3: Permitted Electrified Vehicle Types

Permitted EV’s EV Inspection Vehicle Passport Requirement mHEV HEV PHEV BEV BEV mHEV HEV PHEV BEV BEV mHEV HEV PHEV BEV BEV LV HV HV LV HV LV HV HV LV HV LV HV HV LV HV Vehicle Type Standard Electrified Y Y Y N/A Y N N N N/A N EVP EVP EVP N/A EVP

App . 11 Art . 1.9

Vehicle Modified Electrified Y 1.2 Y 1.2 EVP EVP EVP N/A EVP Y Y Y N/A Y Y 1.2 Y 1.2

App . 11 Art1.10

Vehicle

Key : mHEV = Mild hybrid HEV = Hybrid PHEV = Plug-in hybrid BEV = Battery electric vehicle LV = Low voltage (<30V AC or 60V DC) HV = High voltage (>30V AC or 60V DC) EVP = Electric Vehicle Passport

1 . Notes : 1.1. Category or discipline specific regulations may impose further restriction on permitted vehicles 1.2. Submission of OEM vehicle specific Emergency Services Guide and visual inspection only

1.3. Full submission of all data requirements contained in EV Tech Regs plus visual and technical inspection and functional test

Motorsport UK 2025 National Competition Rules Chapter 7 Appendix 13 - Charts and Diagrams 293

Chart 4: HV RESS Status indicator states

Light Status RESS Status

Green Safe

Danger (Isolation fault)

Red

Chart 5: Ready-to-move indicator states

Light Status Vehicle Status

HV system deenergised

Off

HV system energised – vehicle ready to move

White always on

White flashing

Charging Motorsport UK 2025 National Competition Rules Chapter 7 Appendix 13 - Charts and Diagrams 294

Diagram 1: Competition Numbers

Diagram 2: Steering

(A) (B) (C)

Motorsport UK 2025 National Competition Rules Chapter 7 Appendix 13 - Charts and Diagrams 295

Diagram 3: Functional switching diagram example

Diagram 4 : Fire Extinguisher Warning Symbol

Diagram 5 : Marshal Neutral Switch Warning Symbol

Motorsport UK 2025 National Competition Rules Chapter 7 Appendix 13 - Charts and Diagrams 296

Diagram 6 : High Voltage Warning Symbol

Diagram 7 : Approval Sticker

Diagram 8 :

Motorsport UK 2025 National Competition Rules Chapter 7 Appendix 13 - Charts and Diagrams 297

Diagram 9: HELMET STANDARDS

CMR2007 CMS2007

CMR2016 CMS2016

K2020 SA2020

K2015 SA2015

8860-2010 (b)

8860-2010 (a)

8860-2018

8859-2015

8859-2024

8860-2018-ABP

8878-2024

8859-2024-ABP

Motorsport UK 2025 National Competition Rules Chapter 7 Appendix 13 - Charts and Diagrams 298

Safety Cage Drawings

Diagram 10 Diagram 11

Diagram 12 Diagram 13

Diagram 14 Diagram 15

Diagonal may be handed to left or right

Diagram 16 Diagram 17

Motorsport UK 2025 National Competition Rules Chapter 7 Appendix 13 - Charts and Diagrams 299

Diagram 18 Diagram 19 (a)

Diagram 19 (b) Bar may be fitted in either orientation

Diagram 19 (c)

Diagram 19 (d)

Diagram

Motorsport UK 2025 National Competition Rules Chapter 7 Appendix 13 - Charts and Diagrams 300

Diagram 21 Optional Reinforcing Members [6]

( a ) ( b )

( c ) ( d )

( e ) ( f )

( g ) ( h )

Motorsport UK 2025 National Competition Rules Chapter 7 Appendix 13 - Charts and Diagrams 301

(i) (j)

Diagram 22

Diagram 23

Diagram 24 Diagram 25

Motorsport UK 2025 National Competition Rules Chapter 7 Appendix 13 - Charts and Diagrams 302

Diagram 26 Diagram 27

Diagram 28

Backstay

Diagram 29

Backstay

Motorsport UK 2025 National Competition Rules Chapter 7 Appendix 13 - Charts and Diagrams 303

Diagram 30 Diagram 31

Diagram 32

Diagram 33

Motorsport UK 2025 National Competition Rules Chapter 7 Appendix 13 - Charts and Diagrams 304

Diagram 34

Diagram 35

Diagram 36

Motorsport UK 2025 National Competition Rules Chapter 7 Appendix 13 - Charts and Diagrams 305

Diagram 37

Diagram 38

Maximum 25cm

Motorsport UK 2025 National Competition Rules Chapter 7 Appendix 13 - Charts and Diagrams 306

Diagram 39 Diagram 40

Diagram 41 Diagram 42

Diagram 43 Diagram 44

Motorsport UK 2025 National Competition Rules Chapter 7 Appendix 13 - Charts and Diagrams 307

Diagram 45 a) Diagonal(s) across Main Hoop b) Diagonal(s) across Back Stays

Diagram 46

Motorsport UK 2025 National Competition Rules Chapter 7 Appendix 13 - Charts and Diagrams 308

Diagram 47

Diagram 48

Typical Safety Belt Installation Diagram 49

(a) (b) Motorsport UK 2025 National Competition Rules Chapter 7 Appendix 13 - Charts and Diagrams 309

Diagram 50

Diagram 51 Diagram 52

Motorsport UK 2025 National Competition Rules Chapter 7 Appendix 13 - Charts and Diagrams 310

Diagram 53

Diagram 54

Diagram 56

Diagram 55

Motorsport UK 2025 National Competition Rules Chapter 7 Appendix 13 - Charts and Diagrams 311

Diagram 57

Diagram 58 Diagram 59

Diagram 60

Motorsport UK 2025 National Competition Rules Chapter 7 Appendix 13 - Charts and Diagrams 312

Diagram 61 Diagram 62

Diagram 63

Diagram 64 a

Diagram

Motorsport UK 2025 National Competition Rules Chapter 7 Appendix 13 - Charts and Diagrams 313

Diagram 65

Diagram 66 a

Diagram 66 b

Diagram 66 c

Motorsport UK 2025 National Competition Rules Chapter 7 Appendix 13 - Charts and Diagrams 314

Diagram 67

Dimension B Height over front seats (measured between 0° and 15° towards the rear in relation to the vehicle using the test seat weight)

Dimension C Width for the front seats Dimension D Height over the rear seats (measured as Dimension B) Dimension E Width of rear seats. Dimension F Distance from the centre of the hub of the steering wheel to the brake pedal (if the steering wheel is adjustable it must be placed in the median position). Dimension G Length from the centre of the hub of the steering wheel to the bulkhead of the rear seat, or if possible to the rear face of the rear seat (maximum tilt 15°) If the steering wheel is adjustable it must be placed in the median position. B and D are measured between the bottom of the seat compressed by the test seat weight, the axis of which is vertical, and the ceiling (padding compressed). If the seats are separate, the measurement is taken in the middle of each of the seats. In the case of longitudinally adjustable seats, the seats will be placed in the median position. If there is a bench seat in the front, the measurement is taken at 25cm from the centreline of the car. C and E are the maximum widths measured along the vertical plane passing through the axis of the standard test seat weights placed on the seats, being able to be freely maintained over a height of at least 25cm and a length of at least 40cm. The minimum dimensions (in cm) according to the cylinder capacity (in cm3) are the following, with H = F+G

Engine Capacity Dim . B

Dim . C

Dim . D

Dim . E

Dim . H

From 0 to 1,300 Free 90 Free 90 180

88 110 88 110 200

From 1,300 to 2,000

Over 2,000 93 120 93 120 210

Diagram 68 Diagram 69 Diagram 70 Motorsport UK 2025 National Competition Rules Chapter 7 Appendix 13 - Charts and Diagrams 315 Chapter 8 Permitted Fuels and Tyres and Testing

Motorsport UK 2025 National Competition Rules Chapter 8 - Permitted Fuels and Tyres Testing 316

CHAPTER 8 - PERMITTED FUELS AND TYRES AND TESTING

The following Appendices to this Chapter apply:

App.1 Permitted Fuels App.2 Fuel (and other Vehicle fluids) Testing App.3 Tyre Testing and Checking App.4 Permitted Tyre List

1. General

1.1. This Chapter must be read in conjunction with specific sporting discipline Chapters and where applicable Chapter 2 (Judicial ) and Chapter 1 App. 1 (Nomenclature and Definitions ).

1.2. This Chapter applies to all sporting disciplines Events and Championships unless specific waiver or variation in respect of the use of permitted fuels or tyres has been approved in writing by the ASN.

1.3. In the interests of any of sustainability, Statutory compliance, or sporting fairness the ASN reserves the right to amend the Regulations in respect of fuel and / or tyres at any time. Wherever possible reasonable notice of any change will be given by publication on the ASN website.

1.4. Only Permitted fuels may be used in Competitions. 1.5. Only Permitted tyres may be used in Competitions.

1.6. It is always the Competitor ’s responsibility while competing to ensure conformity with the relevant Regulations .

1.7. Subject to Art.1.8 below it is an offence in breach of the NCR to use fuel or to use tyres that are not permitted and which breach may be subject to Judicial procedures under Chapter 2.

1.8. If it is discovered at pre-Competition scrutineering that a Competitor has the incorrect tyres this will be reported by the Scrutineers to the Clerk of the Course and who has the authority to permit the Competitor to achieve conformity and re-present the Vehicle to the scrutineers for approval but the commencement of the relevant Competition shall not be delayed to facilitate such re-presentation.

1.9. All fuel and all tyres may be checked for conformity with the NCR in accordance with the prescriptions at App.3 and 4 respectively of this Chapter. It is an offence in breach of the NCR to refuse to cooperate with any official test procedure required by the Organisers and or the ASN. Such a breach may result in Disqualification from relevant Events and suspension of Competition Licence and referral to the National Court.

2. Specific matters relating to tyres

2.1. Tyres must comply with Regulations for the duration of an Event including any Regulations regarding tyre pressure.

2.2. Except FF1600 per Art.2.3 below, treaded tyres must have a minimum of 1.6mm tread throughout the circumference of all tyres at the commencement of the relevant Competition.

2.3. FF1600 tyres must have a minimum of 1.0mm tread throughout the entire circumference of all tyres at the commencement of the relevant Competition.

2.4. Where tyre choice is free it is the responsibility of the Competitor to ensure that the tyres used are of adequate speed rating and construction for the Competition.

2.5. The fitment and / or use of pressure control valves is prohibited in Competition. 2.6. The use of chemical tyres softeners is prohibited unless specifically allowed in Official Documents.

2.7. Except for the use of inner tubes (where permitted by the tyre manufacturer), the interior of the tyres being the space between the wheel rim and internal tyre carcass must only be filled with air or nitrogen.

Motorsport UK 2025 National Competition Rules Chapter 8 - Permitted Fuels and Tyres Testing 317

As a global leader in racing fuel, Sunoco proudly offers a diverse range of highperformance fuels, from 100 to 120 octane. This includes unleaded, leaded, sustainable, methanol, and ethanolblended options, designed to meet the needs of racers everywhere.

Since 2001, Anglo American Oil Company has been supplying Sunoco race fuels to over twenty UK championships. With a strong emphasis on consistency, quality, and performance, Sunoco is regarded as one of the world’s largest producers of competition fuels, supporting hundreds of modern and historic racing series.

Also proud distributor of:

SCAN ME

aaoil.co.uk ANGLO AMERICAN OIL COMPANY +44 (0) 1929 551557

CHAPTER 8 PERMITTED FUELS AND TYRES AND TESTING Appendix 1 - Permitted Fuels

1.1. Use Permitted Fuel (see definition below at Art.1.7 and Chapter 1 App.1 Nomenclature and Definitions) except, subject to prior written authority having been given by the ASN , where permitted otherwise under Official Documents

1.2. If using LPG, the entire system must conform with Construction and Use Regulations and LPG Industry Technical Association Code of Practice No. 11.

1.3. If using Methanol have a 3-inch diameter ‘Day- Glo’ orange disc affixed immediately adjacent to the Competition Numbers on both sides.

1.4. Any Vehicle using methanol must include an ASN approved additive which provides a distinguishable colour and smell when burning. The maximum permitted volume of additive within the fuel is 0.2%.

1.5. All Vehicles competing in British and ASN Titled Championships for, and all new build Vehicles from 01 January 2013 for, Rallycross, Car Racing, Special Stage Rallying, Sprints and Hill Climbs (with the exception of Vehicles competing in Sprint and Hill Climb Standard Car and road car categories) must be equipped with the facility to enable a fuel sample to be taken. For fuel injected Vehicles the facility must be a dry break fuel sampling coupling, approved by the FIA , Competitors must carry and make available a 300mm minimum length of hose to which, where necessary, the appropriate mating part is to be attached.

1.6. All Vehicles must have sufficient fuel in the Vehicle fuel tank for a fuel test (App.2) present at any time during the Event.

1.7. The definition of ‘ Permitted Fuel ’ is as follows:

NOTE: The ASN reserves the right to amend these details to reflect any change occurring in the quality of fuel on general sale to the public in the UK.

Also refer to Specifications Table below . Petrol : Commercially available gasoline

a. BS EN 228 (unleaded and super-unleaded ).

Unless otherwise stated or the distinction is made between leaded and unleaded petrol, the motor gasoline fuel shall meet the following:

i.

Acceptance levels for Octane Numbers will be accepted or rejected according to the Standard ASTM D.3244. Only additives to this Motor Gasoline Fuel solely for the purpose of lead replacement are allowed.

ii.

LRG (unleaded), Lead replacement gasoline (LRG also known as LRP): Only additives to unleaded motor gasoline, solely for the purpose of lead replacement, from Sodium, Phosphorous or Manganese are allowed, subject to application according to manufacturer ’s instructions and to the treated fuel complying with the Specifications Table at Article 1.8 of this Chapter.

Lead in excess of EU Directive 98/70 EC requirements is illegal. This also applies to ‘Free Fuel’.

The addition of a lubricant on current sale is permitted in fuels for use in 2-stroke engines.

For rotary engines, a 2-stroke oil with a minimum viscosity of 5 cSt at 100°C, may be added at a maximum concentration of 0.30% (mixing ratio of 300:1).

Motorsport UK 2025 National Competition Rules Chapter 8 Appendix 1 - Permitted Fuels 319

b.

Petrol or Diesel in compliance with FIA Appendix J Art 252, Article 9. Or, for Karting, Petrol in accordance with CIK Technical Regulations Article 2.21.

c.

LPG (Liquefied Petroleum Gas) which is of 99% wt. min. hydrocarbon composition and that is entirely gaseous at atmospheric temperature and pressure. Complying with BS EN589.

d.

Diesel Automotive Gas Oil (DERV ), commercially available, complying with BS EN 590 and EU Directive 98/70 EC (see Table below).

e.

High Ethanol Content Fuel in compliance with FIA Appendix J Art 252, Article 9.3 - Only permitted to be used with the specific approval of the ASN .

Bio Diesel – Commercially available and complying with BS EN15940

f. g.

Methanol. Methyl Alcohol CH3OH. This is a clear colourless liquid, miscible with water acetone and other ketones, the esters, aromatic and highly unsaturates hydrocarbons, and castor oil. It is not miscible in all proportions with straight-run petroleum spirit or mineral oil. B.P. 64.7°C, Specific Gravity 0.796, Flash Point 32°F. For Speed Events , British Standard 506 with an allowance of up to 10% Acetone, is permitted. It must include an ASN approved additive which provides a distinguishable colour and smell when burning. The maximum permitted volume of additive within the fuel is 0.2%.

Hydrogen in compliance with FIA Appendix J Art 252, Article 9 – Only permitted to be used with the specific approval of the ASN .

h.

1.8. SPECIFICATIONS TABLE

PERMITTED FUEL - UNLEADED, SUPER-UNLEADED AND LRG

BS EN 228 (Unleaded)

Test

MON (max) 89.0 EN ISO 5163 RON (max) 100.0 EN ISO 5164 Oxygen % (max) 3.7% w/w Elemental LRG (Unleaded)

Test

MON (max) 89.0 EN ISO 5163 RON (max) 100.0 EN ISO 5164 Lead (max) g/l 0.005 ASTM D3341/IP362/EN 237 Oxygen % (max) 2.7% w/w Elemental

Certain of the above values are additional to those specified in the standards referred to.

PERMITTED FUEL – DIESEL

BS EN 590

Test

Density 15˚C kg/m 3 (max)

EN ISO 3675/EN ISO 12185

845

Cetane Number (max)

60

EN ISO 5165/EN 15195

Calculated Cetane Index (max)

60

EN ISO 4264

EN ISO 20846 /EN ISO 20884

Sulphur Content mg/kg (max)

10

At the discretion of the ASN the maximum Cetane and calculated Cetane numbers may be increased to 70.0 for National Competitions / Championships

Motorsport UK 2025 National Competition Rules Chapter 8 Appendix 1 - Permitted Fuels 320

CHAPTER 8 PERMITTED TYRES AND FUEL AND TESTING Appendix 2 - Fuel (and other Vehicle fluids) Testing

1. Fuel (and other Vehicle Fluids) Testing

1.1. Organisers and the ASN have the right at any time before, during or after a Permitted Event to check and or require the testing of any fuel used or presented by the Competitor for use in Competition . This includes fuels in a Vehicle at any time during or for the purpose of the Competition including any scrutineering of it connected to the relevant Competition and to any fuel present in the Competitor ’s pit or paddock area.

1.2. The Clerk of the Course must always be notified of the intention to carry out fuel checking and or testing.

1.3. The responsibility for the checking of fuels at Events is an Eligibility matter and shall be delegated to the Chief Scrutineer at the Event who in turn may delegate this responsibility to other Scrutineers appointed to the Event but who shall report to the Chief Scrutineer.

1.4. Any non-conformity of any fuel shall be reported by a Non-Compliance Report and which must be delivered to the Clerk of the Course or to the Stewards of the Event where the Clerk has no Judicial responsibility at an Event .

1.5. A Non-Compliance Report may be a Judgement of Fact provided that the Scrutineers concerned satisfy the criteria as Judges of Fact.

1.6. On receipt of a Non-Compliance Report the relevant Judicial body must deal with the matter by way of a formal Judicial Hearing pursuant to Chapter 2. App.8 Arts.1.9-1.12 .The result of the Judicial Hearing shall be published as an Official Document of the Event .

1.7. Fuels may be checked for eligibility under the Official Documents or for testing as set out below (‘FTP’)

1.8. The analysis of a laboratory on the UKAS list or by an ASN approved comparison test will be a Judgement of Fact.

1.9. Any Eligibility Decision whereby it is determined that any fuel is in breach of the NCR shall be penalised in accordance with Chapter 2 App.8 Art.2 (subject always to Chapter 2 App. 8 Art.1.12 (a ruling in respect of exceptional reason). The ASN may additionally refer the matter to the National Court for the consideration of additional penalties.

2. FTP

2.1. New unused ASN approved sample containers, capable of being sealed by the authorised sampling official must always be used for the storage of fuel samples.

2.2. Three samples will be taken and must individually be sealed and labelled in separate ASN approved containers as per Art.2.1 above. An ASN Sealing Certificate must be completed and distributed as detailed on the Certificate. For Comparison Testing only one sample need be taken, providing the Vehicle remains secured in Parc Ferme to enable subsequent samples to be taken should this first sample confirm non-compliance.

3. Analysis Testing 3.1. Each sample must be a minimum of 1 litre.

3.2. Where there are less than 3 litres available, such that only two minimum 1 litre samples are available the Competitor forfeits their right to select a sample ( Art.3.6 below ) and the result of the ASN first test will conclusively determine the compliance or non-compliance of the fuel ( Art.3.5 below ).

3.3. If only a single minimum 1 litre sample is available, that sample alone will be tested in accordance with Art. 3.7 below and that test will conclusively determine the compliance or non-compliance of the fuel. Notification will be given under Art.6.1 below.

3.4. The results of all analysis testing will be compared for compliance with the relevant specification, detailed in this Chapter 8 Appendix 1: Permitted Fuel , in accordance to the reproducibility of the test method.

Motorsport UK 2025 National Competition Rules Chapter 8 Appendix 2 - Fuel (and other Vehicle fluids) Testing 321

3.5. Subject to Arts.3.2 and 3.3 above the Entrant is entitled to select one of the samples for their retention (the “ Entrant’s Sample ”) and to nominate a testing laboratory on the list of the United Kingdom Accreditation Service (UKAS) for the independent testing of that sample, if required as per Art.3.9 below.

3.6. The remaining samples must be delivered by the Organisers to the ASN , normally within 7 days of the Event .

3.7. The ASN will then select one of these two samples at random and arrange testing of the selected sample at a laboratory on the UKAS list. The breaking of the seal must be witnessed by an appointed representative of the ASN .

3.8. The result of this ASN first test will be notified pursuant to Art6.1 below.

3.9. If the result of this ASN first test indicates non-compliance then the Entrant may, within 14 days of being notified of this non-compliance ( Art6.1 below ), submit the Entrant ’s Sample for testing at the laboratory nominated by them ( Art.3.5 above ) and at their expense ( Art.7.2 below ). The Entrant must be given the opportunity to be present at this test and the test – including the breaking of the seal(s) – must be witnessed by an appointed representative of the ASN .

3.10. If the Entrant does not submit the Entrant’s Sample for testing within the said 14 days or if the result of their test confirms non-compliance then the fuel will be deemed ineligible and notification will be given under Art6.1 below.

3.11. If the result of the Entrant ’s test indicates compliance), then the ASN will arrange for the remaining third sample to be tested by a laboratory on the UKAS list not previously used in this particular testing process. The Entrant must be given the opportunity to be present at this test and the test – including the breaking of the seal(s) – must be witnessed by an appointed representative of the ASN .

3.12. Where testing takes place under Art.3.11 above then the result of this third test will conclusively determine the compliance or non-compliance of the fuel and notification will be given under Art6.1 below.

4. Comparison Testing 4.1. Each sample must be a minimum of 50ml.

4.2. The results of all comparison testing will be compared for compliance with the results obtained from a sample taken from the same controlled source, at the beginning of the Event .

4.3. Comparison testing will only be implemented where fuel for the Event is mandated by the Organisers for all Competitors in the Class(es) to be drawn from a single controlled source. It is the sole method used when use of control fuel is mandatory.

4.4. One sample, selected at random, will normally be tested on-site in accordance with ASN approved procedures, by the authority nominated in those procedures.

4.5. If the result of this test indicates compliance then no further action will be taken.

4.6. If the result of this test confirms non-compliance then the Entrant will be informed and will be given the opportunity to select one of the two remaining sealed samples ( Art.2.2 above ) for testing in their presence and in accordance with the same ASN approved procedures ( Art.4.4 above ).

4.7. If the Entrant chooses not to have a sample tested, or if the result of this second test confirms noncompliance , then the fuel will be deemed ineligible and notification given under Art.35 below.

4.8. If the result of this second test indicates compliance then the remaining third sample will be tested in accordance with the same ASN approved procedures ( Art.4.4 above ); the Entrant must be given the opportunity to be present at this test.

4.9. Where testing takes place under Art.4.8 above then the result of this third test alone will conclusively determine the eligibility of the fuel and notification will be given under Art6.1 below.

5. Storage of Samples 5.1. Samples retained by the ASN or its authorised Officials must be stored in a secure location.

Motorsport UK 2025 National Competition Rules Chapter 8 Appendix 2 - Fuel (and other Vehicle fluids) Testing 322

5.2. If there is any evidence that any seal and / or container has been tampered with, then that sample will be deemed to have failed the relevant test.

6. Notification of Results

6.1. The result of either Analysis or Comparison fuel testing will be reported to the Entrant , the ASN or its authorised official and must be communicated to the Clerk of the Course, Technical Commissioner(s), Chief Scrutineer and Eligibility Scrutineer prior to the relevant Judicial Official proceeding in accordance with Arts.1.6 and 1.9 above .

7. Cost of Testing

7.1. Unless fuel testing is specifically authorised by the ASN , the cost of testing shall be initially borne by the Club, organisation or individual requesting the test. However, whenever the conclusion of the testing procedure confirms non-compliance, then the Entrant shall be ultimately responsible for all costs and fees arising from the testing procedure.

7.2. Where the Entrant chooses to submit a selected sample for testing at a laboratory of their own choice ( Art.3.9 above ) then they will be responsible for all charges relating to that testing.

8. The Testing of Vehicle Fluids other than fuel

8.1. Three samples, each of equal volume, will be taken at the Event / Competition Venue and must be labelled and sealed. One sample will be tested by an ASN approved official using approved test equipment in accordance with ASN approved procedures.

8.2. The principles applied to the testing of fuel samples in this Appendix must be followed as appropriate for the testing of such other Vehicle fluids.

FIA APPROVED Endorsed by the world’s leading motorsport authority, FUCHS SILKOLENE PRO KR2 delivers unparalleled lubrication performance for karting at all levels.

Motorsport

Appendix

fluids) Testing 323

Vehicle

other

- Fuel (and

UK 2025

8

Rules Chapter

National Competition

2

. .silkolene @fuchs_silkolene uk .com silkolene @fuchs _ silkolene /fuchs

CHAPTER 8 PERMITTED TYRES AND FUELS AND TESTING Appendix 3 - Tyre Testing and Checking

1. General

1.1. Organisers have the right at any time during or after a Permitted Event to check and or require the testing of any tyre presented by the Competitor for use in Competition. This includes tyres presented on a Vehicle at any Scrutineering of it connected to the relevant Competition and to any tyre designated by the Competitor as a ‘spare’ including any ‘wet use’ tyre.

1.2. The Clerk of the Course must always be notified of the intention to carry out tyre checking and or testing.

1.3. The responsibility for the checking of tyres at Events is an Eligibility matter and shall be delegated to the Chief Scrutineer at the Event who in turn may delegate this responsibility to other Scrutineers appointed to the Event but who shall report to the Chief Scrutineer .

1.4. Any non-conformity of any tyre shall be reported by a Non Compliance Report and which must be delivered to the Clerk of the Course or to the Stewards of the Event where the Clerk has no Judicial responsibility at an Event .

1.5. A Non Compliance Report may be a Judgement of Fact provided that the Scrutineers concerned satisfy the criteria as Judges of Fact.

1.6. On receipt of a Non Compliance Report the relevant Judicial body must deal with the matter by way of a formal Judicial Hearing pursuant to Chapter 2. App.8 Arts.1.9–1.12 . The result of the Judicial Hearing shall be published as an Official Document of the Event .

1.7. Tyres may be checked for Eligibility under the Official Documents or for testing in relation to performance enhancing products (‘ TTP ’) as set out below.

1.8. The analysis of a laboratory on the UKAS list or by an ASN approved comparison test will be a Judgement of Fact.

1.9. Any Eligibility Decision whereby it is determined that any tyre is in breach of the NCR shall be penalised in accordance with Chapter 2 App.8 Art.2 (subject always to Chapter 2 App. 8 Art.1.12 (a ruling in respect of exceptional reason)). The ASN may additionally refer the matter to the National Court for the consideration of additional penalties.

2. TTP

2.1. TTP may be carried out at any time, before, during, or after a Competition on the instructions of the ASN , Clerk of the Course , Technical Commissioner, Chief Scrutineer , Eligibility Scrutineer or the Stewards .

2.2. New unused ASN approved sample containers, or other containers approved by the ASN , capable of being sealed by the authorised sampling official must always be used for the storage of individual tyre rubber samples.

2.3. Where there is the possibility that the tyre(s) may have “picked up” rubber from the track surface, the Entrant shall be permitted (or may be required by the Eligibility or Chief Scrutineer ) to remove the “pick up” from the tyre(s) with a mechanical device, such as a scraper. Rubber residue from the cleaning process must be collected and retained by the Chief Scrutineer for further testing as appropriate, and in a separate container as per Art.1.2 above.

2.4. Removal of rubber samples from the tyre must be done in a controlled and preferably clean environment within the Venue, such as in the scrutineering bay, and always under the supervision of the Chief Scrutineer or Eligibility Scrutineer . Removal onto a clean surface is essential. The tyre rubber sample(s) will then be subjected to testing in the approved manner as detailed below. The Competitor (or in the case of minors, the Competitor and PG ) shall have the right to be present.

Motorsport UK 2025 National Competition Rules Chapter 8 Appendix 3 - Tyre Testing and Checking 324

2.5. Three samples will be taken and must be sealed and labelled in separate ASN approved containers as per Art.1.2 above and an ASN Sealing Certificate must be completed and distributed as detailed on the Certificate. Prior to sealing, the samples should be wrapped in clean aluminium foil to prevent contact with any plastics.

2.6. Each sample must be a minimum of 1mm width, 25mm length and 0.3mm depth. 2.7. Each sample shall be placed and sealed in an ASN tamper-proof evidence bag.

3. Analysis Testing

3.1. The results of all analysis testing will be compared for compliance with the relevant tyre manufacturer ’s specification for that model retained by the ASN .

3.2. The Entrant is entitled to select one of the samples for their retention (the “ Entrant’s Sample ”) and to nominate a testing laboratory on the list of the United Kingdom Accreditation Service (UKAS) for the independent testing of that sample, if required as per Art.2.6 below.

3.3. The remaining two samples must be delivered by the organisers to the ASN , normally within 7 days of the Event .

3.4. The ASN will then select one of these two samples at random and arrange testing of the selected sample at a laboratory on the UKAS list, or a laboratory approved by another ASN . The breaking of the seal must be witnessed by a representative of the ASN .

3.5. The result of this ASN first test will be notified pursuant to Art.5 below.

3.6. If the result of this ASN first test confirms noncompliance then the Entrant may, within 14 days of being notified of this non-compliance, submit the Entrant’s Sample for testing at the laboratory nominated by them (Art.18 above) and at their expense ( Art.6.2 below ). The Entrant must be given the opportunity to be present at this test and the test, including the breaking of the seal(s), must be witnessed by a representative of the ASN .

3.7. If the Entrant does not submit the Entrant’s Sample for testing within the said 14 days, or if the result of their test confirms non-compliance), the tyre(s) will be deemed ineligible and notification will be given under Art.5 below.

3.8. If the result of the Entrant’s test confirms compliance, then the ASN will arrange for the remaining third sample to be tested by a laboratory on the UKAS list not previously used in this particular testing process. The Entrant must be given the opportunity to be present at this test and the test, including the breaking of the seal(s), must be witnessed by a representative of the ASN .

3.9. Where testing takes place under Art.4.1 above , the result of this third test will conclusively determine the compliance or non-compliance of the tyre(s). Notification will be given in accordance with Art.5.

4. Comparison Testing

4.1. The results of all comparison testing will be compared for compliance with the results obtained from a sample taken from the same manufacturer and model of tyre, from the same controlled source, at the beginning of the Event .

4.2. Comparison testing will only be implemented where tyres for the Event are mandated by the Organisers for all Competitors in the class(es) to be drawn from a single controlled source.

4.3. One sample, selected at random, will normally be tested on-site by an ASN approved official and in accordance with ASN approved procedures.

4.4. If the result of this test confirms compliance then no further action will be taken.

4.5. If the result of this test confirms non-compliance, the Entrant will be informed and will be given the opportunity to select one of the two remaining sealed samples for testing in their presence.

4.6. If the Entrant chooses not to have a sample tested, or if the result of this second confirms non compliance then the tyres will be deemed ineligible and notification given under Art.5 below.

Motorsport UK 2025 National Competition Rules Chapter 8 Appendix 3 - Tyre Testing and Checking 326

ENGINEERED TO WIN

Protoura Race from Davanti has been specifically designed to excel on the track.

Its semi-slick tread design provides a combination of excellent dry grip and control in the wet without compromising speed, making it a successful formula to outpace the ordinary.

Scan for more Follow Us

MOTORSPORT UK LIST 1B

Discover more at davanti-tyres.com

4.7. If the result of this second test confirms compliance, then the remaining third sample will be tested; the Entrant must be given the opportunity to be present at this test.

4.8. Where testing takes place under Art.3.7 above the result of this third test alone will conclusively determine the eligibility of the tyre(s) and notification will be given under Art.5 below.

5. Storage of Samples 5.1. Samples retained by the ASN or its authorised Officials must be stored in a secure location.

5.2. If there is any evidence that any seal and/or container has been tampered with, then that sample will be deemed to be invalid.

6. Notification of Results

6.1. The result of either Analysis or Comparison tyre testing will be reported to the ASN or its authorised official and must be communicated to the Entrant, Clerk of the Course , Technical Commissioner(s), Chief Scrutineer and Eligibility Scrutineer prior to the relevant Judicial Official proceeding in accordance with Arts.1.6 and 1.9 above.

7. Cost of Testing

7.1. Unless TTP is specifically authorised by the ASN the cost of testing shall be initially borne by the Club, organisation or individual requesting the test. However, whenever the conclusion of the testing procedure confirms non-compliance, then the Entrant shall be ultimately responsible for all costs and fees arising from the testing procedure.

7.2. The analysis of a laboratory on the UKAS list (or a laboratory approved by another ASN in respect of Article 2.4 above) or by an ASN approved comparison test, will be taken as a finding of fact.

8. Tyre Checking (Karting)

8.1. It shall be an offence to use a tyre which does not comply with the tyre specification laid down in the Technical Regulations , or the Official Documents of the Event (or Championship ).

8.2. The analysis of a laboratory on the UKAS list (or a laboratory approved by another ASN in respect of U20.3.4.) or by an ASN approved comparison test, will be taken as a finding of fact.

8.3. The provisions of Ch.2 App.8 will apply in the case of a tyre or tyres found to be ineligible and additional penalties may be applied by the ASN and/or the ASN National Court .

Motorsport UK 2025 National Competition Rules Chapter 8 Appendix 3 - Tyre Testing and Checking 328

CHAPTER 8 PERMITTED FUEL AND TYRES AND TESTING Appendix 4 - Permitted Tyre Lists

Certain Championships define the types of tyre permitted to be used and Competitors it is the Competitor ’s responsibility to check the requirements in all Event and Official Documents which will specify the Permitted Tyres.

1. Production Tyres

1.1. The tyres in List 1A are regarded by the manufacturers as Standard Road Tyres . They may have wear bars moulded into the tread to show 1.6mm remaining pattern depth. These are set at six positions around the circumference of the tyre and extend across its width. If any of the wear bars are level with the tread surface at pre-Event scrutineering the Vehicle will not be allowed to compete.

1.2. Tyres with sidewall markings removed will be prohibited in all Events unless they are correctly marked ‘Retread’ or ‘Remould’.

1.3. For Production Saloon and Sports Car racing, only standard road tyres in List 1A are permitted, and only to rim and tyre sizes as laid down for specific car models on Production Car Specification Sheets.

1.4. All tyres must carry an EEC 30 or EEC 108 ‘E’ mark. It is illegal to supply for Public Highway use new or part-worn tyres that are not ‘E’ or ‘e’ marked tyres (ie marked in accordance with requirements of EEC Regulation 30, 30.1, 30.2 or EC Directive 92/23). This includes VR and ZR tyres (previously exempt).

1.5. All new tyres sold from 01.11.2012 must be labelled in accordance with EU Reg 1222/2009.

1.6. All new tyres produced after 01.11.2014 must be marked in accordance with UNECE Regulation 117 (ie carry S, W and R markings).

1.7. Some tyres in List 1A and 1B may have additional sidewall markings denoting specific fitment at OE These markings may be in the vicinity of the range name or after the size designation (eg NO, MO,*). Such tyres with additional markings are accepted as equivalent to tyres designated in Lists 1A and 1B.

1.8. Tyres marked with an asterisk may be removed from the Lists. See official bulletins for details. Additional tyres may be added to the lists at any time (see official bulletins for details).

1.9. Run-flat variants of tyres listed in 1A are permitted. Tyre pressure monitoring devices should be used on run-flat tyres.

1.10. Tyre List 1C is solely for Competition Tyres complying with EEC Regulation 30 but not regulation 117.

2. Tyres for All Rallies

2.1. For Rallies , all tyres used on the Public Highway must comply with the relevant Motor Vehicle Construction and Use Regulations , in addition to requirements specified in Chapter 13 Appendix 15 Article 4 ( Road Rallies ), Chapter 13 Appendix 15 Article 13 ( Historic Road Rallies ), Chapter 13 Appendix 15 Article 7.15 ( Endurance Road Rallies ), Chapter 13 Appendix 16 Article 7 ( Stage Rallies ) and Chapter 13 Appendix 17 Article 7 ( Historic Stage Rallies ), and the following regulations.

2.2. At all times during an Event the tread depth must not be less than 1.6mm over at least three quarters of the tread pattern.

2.3. Tyres marked ‘For Racing Purposes Only’ are prohibited on all Rallies.

3. Tyres for Road Rallies 3.1. For all Road, Navigation, Targa Road and Historic Road Rallies tyres are free subject to the following:

Tyres on the current FIA List of Asphalt Eligible Tyres including sizes not homologated are not permitted unless on List R ;

a.

Motorsport UK 2025 National Competition Rules Chapter 8 Appendix 4 - Permitted Tyre Lists 330

b. Tyres on List 1B and List 1C are not permitted other than those on List R ; c.

Tyres marked for " Competition use" are not permitted with the exception of tyres on List 6 and List R .

3.2. For Endurance Road Rallies only tyres on List 4 are permitted.

4. Tyres for Stage Rallies

4.1. FIA homologated tyres are recommended for asphalt stage rallies. All tyres contained in List 1A,, 1B and 6 are authorised for use on all sealed surface Stage Rallies.

4.2. Only tyres from List 6 are authorised for use on unsealed surface stages taking place on the national forest estates (FCS/FCE/NRW).

4.3. Additionally, for Single Venue Stage Rallies , where no part of the itinerary traverses the Public Highway, tyres from List 1C are authorised.

4.4. NOTE TO COMPETITORS: road legal List 1A tyres and some specialist motor sport tyres may not have strengthened sidewalls more normally used in the construction of tyres in List 1B and Rally tyres homologated by the FIA.

4.5. With the exception of tyres specified in List 1A, 1B (1C SVSRs where permitted) and 6, hand cutting is permitted, but only for the purpose of introducing additional grooves no deeper than those moulded into a new tyre. Hand cutting in order to increase the depth of existing moulded grooves is prohibited for all tyres.

LIST 1A

Production Tyres Suitable for Competition

4.6. It is prohibited to re-groove tyres in this list.

AVON

• *ZV 7

• *ZT 7 BLOCKLEY

• BR1 (pre 1/10/90)

BRIDGESTONE

• Potenza RE050, RE050A

• Potenza RE070R

• Potenza S007

• Potenza S001

• Potenza S005

• Potenza Sport

• (1)Potenza Race (1) Only applicable where an OE fitting. Contact the ASN Technical Department for verification. CONTINENTAL

• ContiSportContact 2

• ContiEcoContact 3

• ContiSportContact 5

• ContiPremiumContact 5

• ContiEcoContact 5

• ContiPremiumContact 2

• ContiSportContact 3

Motorsport UK 2025 National Competition Rules Chapter 8 Appendix 4 - Permitted Tyre Lists 331

• ContiSportContact 5P

• SportContact 6

• PremiumContact 6

• EcoContact 6

• UltraContact

• PremiumContact 7

• SportContact 7

• UltraContact NXT

• EcoContact 7

• EcoContact 7S COOPER

• *CS7 (incl. CS7 Avon Academy) DAVANTI

• Protoura Sport

DUNLOP

• SP Sport 01

• SP Sport 600

• SP Sport Aquajet/CB73

• SP Sport Maxx GT

• SP Sport Maxx RT

• SP Sport Blue Response

• SP Sport Maxx RT2

• *SP Sport Maxx Race 2

• SP Street Response 2

• SP Sport Maxx

• SP Sport FastResponse FIRESTONE

• Firehawk Sport

GITI

• Sport S1

• Sport S2

• GitiSynergy E1

GOODYEAR

• Eagle F1 Asymmetric 2

• Eagle F1 Asymmetric 3

• Efficient Grip Performance

• Eagle F1 SuperSport

• Eagle F1 SuperSport R

• Eagle F1 SuperSport RS

• Efficient Grip Compact

• Efficient Grip Performance 2

• Eagle F1 Asymmetric 5

• Eagle F1 Asymmetric 6

Motorsport UK 2025 National Competition Rules Chapter 8 Appendix 4 - Permitted Tyre Lists 332

GT RADIAL

• Sport Active

• Sport Active 2

• FE2

HANKOOK

• Kinergy Eco2

• Ventus Prime 3

• Ventus Prime 4

• Ventus S1 Evo3

• (1)Ventus S1 EvoZ (1) Only applicable where an OE fitting. Contact the ASN Technical Department for verification. KUMHO

• Ecsta PS91

• Ecsta HS52

• Ecsta PS71

MICHELIN

• Pilot Sport (Excludes Pilot Sport Cup and all Competition tyres)

• Pilot Sport 3

• (1) Pilot Sport Cup 2R

• (1) Pilot Sport Cup 2

• Pilot Sport 4 (including PS4S)

• Pilot Sport 5

• Pilot Sport PS2

• Pilot Exalto PE2 (1) Only applicable where an OE fitting. Contact the ASN Technical Department for verification

NANKANG

• *NS–20

• AS–1

• XR–611

• *AS–2+

• NA-1

• ECO–2+

PIRELLI

• P Zero

• *Cinturato P7

• *CA67

• CN12

• P7

• P Zero Nero GT

• P1 Cinturato

TOYO

• Proxes T1-R

• Proxes T1 Sport

Motorsport UK 2025 National Competition Rules Chapter 8 Appendix 4 - Permitted Tyre Lists 333

• 330

• 310

• NanoEnergy 3

• Proxes CF2

• Proxes Sport

• Proxes TR1

• Proxes Sport 2

• Proxes Comfort

UNIROYAL

• RainSport 3

• RainExpert 3

• RainSport 5

• RainExpert 5

YOKOHAMA

• A 008 (Advan HF Type D)

• A 539

• Advan Sport V103

• *AC 02 (C Drive 2)

• Advan Sport V105

• Advan Fleva V701

• A 008 P

• GT Special Classic Y350 (pre 1/10/90)

• Advan Sport V107

Motorsport UK 2025 National Competition Rules Chapter 8 Appendix 4 - Permitted Tyre Lists 334

LIST 1B Sports/Uprated Tyres Suitable for Competition

4.7. Clubs wishing to use these tyres in Events or Championships must apply in writing to the ASN and Official Documents must provide for their use. These tyres are prohibited for Production Car Racing.

4.8. Some tyres below are available in compounds which are not E-marked. Only those tyres below that are E-marked are valid.

4.9. EU Regulation 1222/2009 for tyre labelling exempts tyres designed for use on Vehicles first registered before the 1st October 1990, therefore a number of tyres remaining on List 1B will only be valid for Vehicles registered before this date, those tyres are appropriately annotated below.

4.10. It is prohibited to re-groove tyres in this list.

ACCELERA

• 651 Sport (including XTRA)

• 351 Sport GD ARMSTRONG

• BLU-TRAC RACE

AVON

• ACB 10 Sport (pre 1/10/90)

• CR6ZZ (Including Sport) (pre 1/10/90)

• Turbospeed CR28 Sport (pre 1/10/90)

• *ZZS

• *ZZR (8018 & 8019)

• *CR27 (pre 1/10/90) BRIDGESTONE

• Potenza Race

COOPER

• *RS3–RS

• *Rally Classic CT01 (pre 1/10/90) DAVANTI

• Protoura Race

EXTREME

• VR1 (Marked either V2, S3, *S4, S4B) (retread)

• VR2 (including NK) (Marked either R7a, R9a, S3, HL, R7B, R9B) (retread)

• *VRS (Marked Type-N) (including NK) (Marked either R7B, R9B) (retread) GITI

• Sport GTR3 HANKOOK

• Ventus TD LANDSAIL

• Apex King AK01

MAXSPORT

• RB5 (Marked either Hard, Medium) (retread)

• RB6 (Marked either Hard, Medium) (retread) MICHELIN

Motorsport UK 2025 National Competition Rules Chapter 8 Appendix 4 - Permitted Tyre Lists 335

• Pilot Sport Cup 2R MRF

• ZTR (Marked Roadtrack)

NANKANG

• NS–2R

• AR–1

• CR–S NOVA MOTORSPORT

• CT01 (pre 1/10/90) OTANI

• BM2000

PIRELLI

• *CA67

• P Zero Corsa

• P7 Corsa Classic (Pre 1/10/1990 only)

• P Zero R

• P Zero Trofeo RS

• P Zero Trofeo R

• CN36 SENTURY

• AK01 TOYO

• Proxes R888R

YOKOHAMA

• A032 – R (165/70x10 only)

• *A048 – LTS (OE fitments marked LTS in sizes 195/ 50x16 & 225/ 45x17 only)

• *Advan Neova AD08R

• Advan A052

• Advan Neova AD09

• Advan Neova AD08RS (Marked S2WR2)

ZESTINO

• Gredge 07R

• Gredge 07RS

Motorsport UK 2025 National Competition Rules Chapter 8 Appendix 4 - Permitted Tyre Lists 336

LIST 1C Sports/Uprated Tyres Suitable for Competition

4.11. Clubs wishing to use these tyres in Events or Championships must apply in writing to the ASN and Official Documents must provide for their use. These tyres are prohibited for Production Car Racing.

4.12. Tyres listed on 1B as valid for Vehicles first registered before 01/10/1990 are valid in 1c where fitted to Vehicles first registered after 01/10/1990.

4.13. It is prohibited to re-groove tyres in this list.

AVON

• *ZZR

• *ZZR RT7 COOPER

• RS 3-R

DUNLOP

• Direzza DII

• Direzza DZ03G

• Sport Maxx Race

• Direzza DIII

EXTREME

• VR1 (Marked either *W3A, *W5, W3b, W5B) (Retread)

• VR2 (Marked either *R5a, *W3A, R5B, W3B) (Retread)

• VRS (Marked Type-N) (including NK) (Marked either R5B, W3B) (retread) GITI

• Compete GTR 2 HANKOOK

• Ventus RS4 KUMHO

• Ecsta V700 (including V70A) (Any Compound)

MAXSPORT

• RB5 (Marked Soft) (retread)

• RB6 (Marked Soft) (retread)

MICHELIN

• TB15 (including +)

• TB5 (f & r) (including +) MRF

• ZTR (Marked Trackday)

NOVA MOTORSPORT

• ZZS

• ZZR

YOKOHAMA

• *A021-R

• A048

Motorsport UK 2025 National Competition Rules Chapter 8 Appendix 4 - Permitted Tyre Lists 337

• A050

LIST 2 4.14. See NCR Chapter 17 (Trials) for details of Permitted tyres 4.15. It is prohibited to re-groove tyres in this list .

LIST 3 4.16. Tyres for Sporting Car Trials 4.17. It is prohibited to re-groove tyres in this list .

MAXXIS

• *MA-510N

• *ME-3 MICHELIN

• XZX

NANKANG

• *CX668

• *NA-1 TOYO

• *330 VREDESTEIN

• T-Trac 2 YOKOHAMA

• GT Special Classic 350

LIST 4 Tyres for Endurance Road Rallies

4.18. It is prohibited to re-groove tyres in this list .

AVON

• Avanza

• CR6ZZ (not Sport or 6751)

• Ice Touring COLWAY

• *Road Plus FALCON

• PC523

FALKEN

• KK07E (10in)

• ZIEX-ZE912 FIRESTONE

• F580C

• *Multihawk Van

• *F580 (Incl. Fuel Saver)

• Vanhawk

Motorsport UK 2025 National Competition Rules Chapter 8 Appendix 4 - Permitted Tyre Lists 338

PIRELLI

• 190 Snow Control SPORTWAY

• R1

• R1+ VREDESTEIN

• Quatrac 2

LIST 5 Tyres for Cross Country Events

4.19. It is prohibited to re-groove tyres in this list.

4.20. Competitive Safaris and Hill Rallies and Point to Point must specify Tyre Eligibility in Official Documents. See Chapter 20 App .10 Art.7.2

LIST 6

Tyres for unsealed surface Stage Rallies:

4.21. Other than as specified below only the tyres listed here are permitted for Stage Rallies in the National Forest Estates.

4.22. Vehiccles using wheels of 12in diameter or less are exempt but the tyres may not be hand cut in any form.

4.23. Cross Country Vehicles with a valid CCLB and for which a suitable fitting is not available may use tyres from Lists 5(a) or 5(b).

4.24. Where conditions dictate the Clerk of the Course , with the agreement of the Stewards of the Event, may declare the Event to be of "Winter Conditions" and suspend the requirement to comply with Tyre List 6.

4.25. It is prohibited to re-groove tyres in this list.

ACCELERA

• RA162 AVON

• SFR

DMACK

• *DMG+

• *DMG+2

• *DMG1

• *DMG2

• *DMG3

• *Surface Saver

• DMG+22

DUNLOP

• DZ86 R/RW

• DZ87R

• *SP61/82

• SP85

• Direzza 88R FEDERAL

Motorsport UK 2025 National Competition Rules Chapter 8 Appendix 4 - Permitted Tyre Lists 339

• *G10 HANKOOK

• R201

• R202

• R203 NEW

• R203

• R204

• R211

• R213

HOOSIER

• GTS

• GTM

• GTH

KUMHO

• R800

• R900

MAXSPORT

• RB3 Narrow

• RB3 Ultra

• RB3 MAXXIS

• Victra R19

MICHELIN

• FB

• LATCROSS HR/HL

• TL40

• TL

• TZ

• TZS

• LTX Force T

• LTX Force T XL

• G70 / G80 / G90

MRF

• ZDM3

• ZG1

• ZG2

• ZGM

• ZVH1

• ZG3

• ZG4

• ZDM2 NOVA MOTORSPORT

• M+S (Incl. Avon and Cooper)

Motorsport UK 2025 National Competition Rules Chapter 8 Appendix 4 - Permitted Tyre Lists 340

• M+S Evo (Incl. Avon and Cooper)

• DG1 (Incl. Cooper)

PIRELLI

• GM

• K

• KM

• *XR

• *Scorpion XR

• WRC Scorpion K**

• Scorpion AT

• T

YOKOHAMA

• A035

• A035E

• A036

• A053

Motorsport UK 2025 National Competition Rules Chapter 8 Appendix 4 - Permitted Tyre Lists 341

LIST R AVON

• CR6ZZ

Turbospeed CR28 Sport (pre1/10/90)

ZZS

ZZR

COOPER

Rally Classic CT01 (pre 1/10/90)

DT1

EXTREME

VR1

VRC

HANKOOK

Ventus Z205

KUMHO

TM02

TW02

MAXSPORT

RB5

RB6

MICHELIN

Pilot Sport

MRF

ZTA

ZTA (marked RoadTrack)

ZWR

ZTW5

ZTA

NANKANG

NS-2R

CR-1

PIRELLI

P7 Corsa Classic (pre 1/10/90 only)

CN36

TOYO

Proxes R888R

YOKOHAMA

A032 - R (165/70x10 only)

Advan Neova AD08R

Advan A052

Advan Neova AD09

Advan Neova AD08RS

Motorsport UK 2025 National Competition Rules Chapter 8 Appendix 4 - Permitted Tyre Lists 342

Chapter 9 Competitor Personal Safety Equipment

Motorsport UK 2025 National Competition Rules Chapter 9 - Competitor Personal Safety Equipment 343